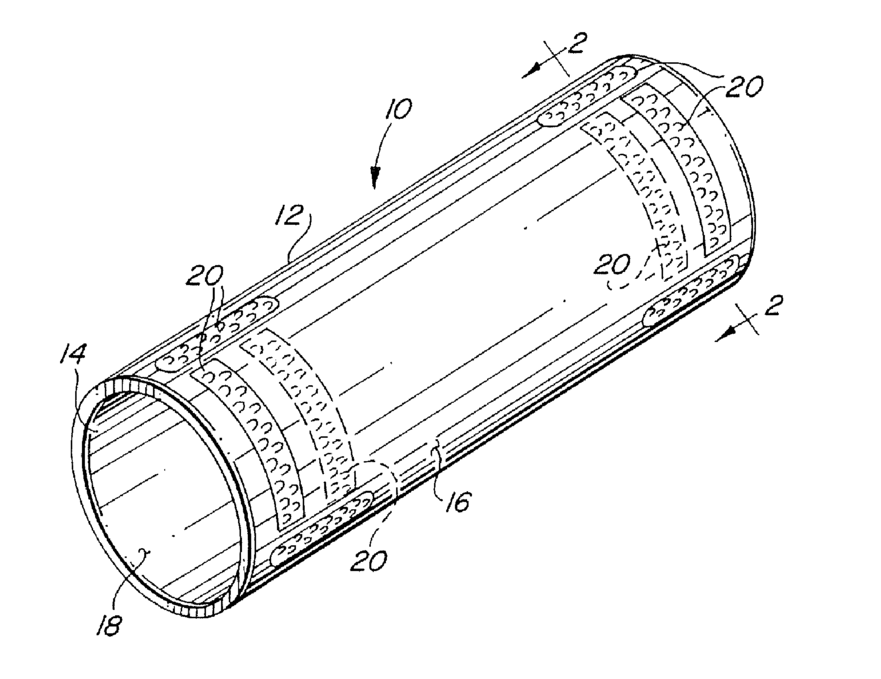
标题:
In vivo sensor and method of making same
授权日:
1900-01-01
公开(公告)号:
US20130041251A1
申请日:
2012-08-28
公开(公告)日:
2013-02-14
当前申请(专利权)人:
VACTRONIX SCIENTIFIC, LLC
发明人:
BAILEY, STEVEN R. | BOYLE, CHRISTOPHER T. | MARTON, DENES | BANAS, CHRISTOPHER E.
简单同族:
AT538757T | CA2438095A1 | EP1365710A2 | EP1365710A4 | EP1365710B1 | ES2380176T3 | JP2004532051A | US10660528 | US20060074479A1 | US20130041251A1 | US20170086683A1 | US20190150758A1 | US8372139 | US9433515 | WO2002064019A2 | WO2002064019A3 | WO2002064019A9
简单同族成员数量:
17
简单同族被引用专利总数:
153
诉讼案件数:
0
法律状态/事件:
授权 | 质押 | 权利转移