首页
专利数据库
产业人才
行业动态
产业政策法规
维权援助
个人中心
登录/注册
详情
文本
图像
标题:
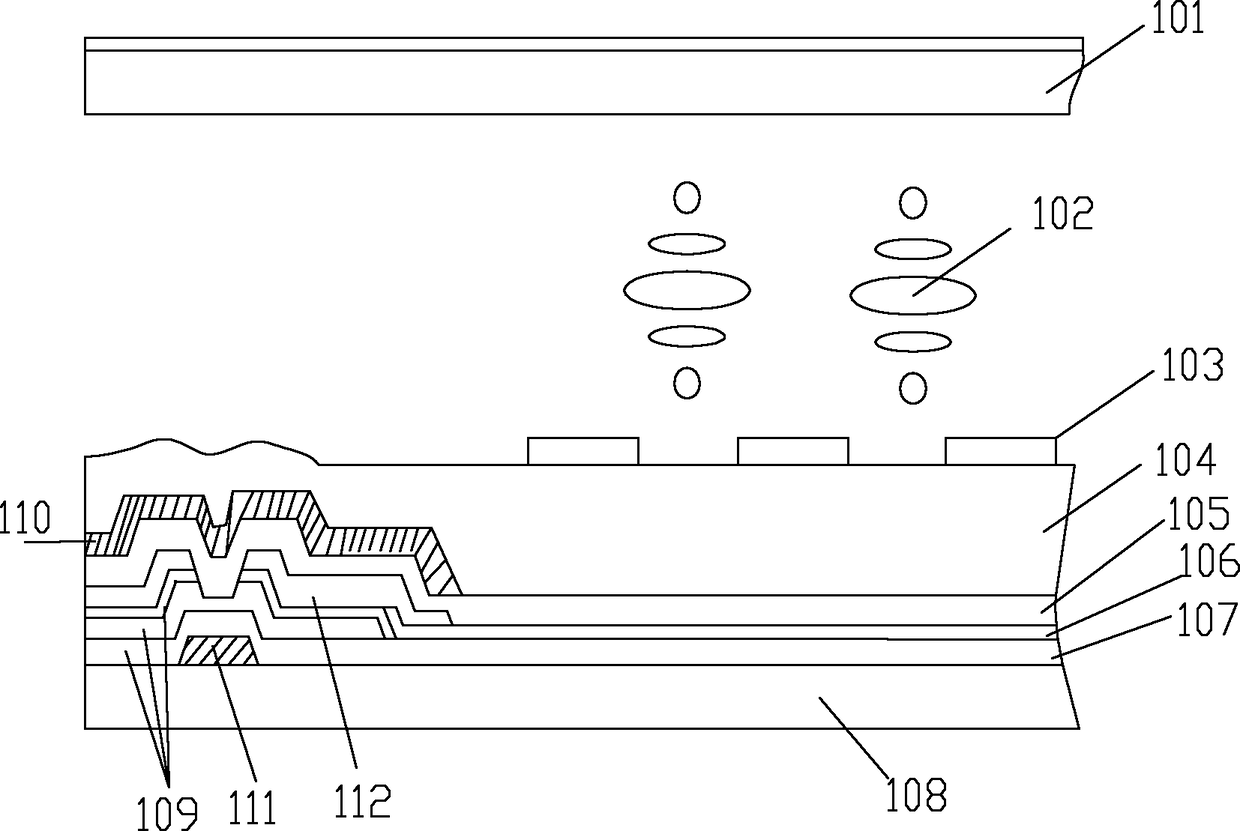
广视角液晶显示屏及广视角液晶显示器
授权日:
2012-10-10
公开(公告)号:
CN202486465U
申请日:
2012-01-05
公开(公告)日:
2012-10-10
当前申请(专利权)人:
信利半导体有限公司
发明人:
胡君文 | 李林 | 洪胜宝 | 谢凡 | 周玉锋 | 李建华
简单同族:
CN202486465U
简单同族成员数量:
1
简单同族被引用专利总数:
0
诉讼案件数:
0
法律状态/事件:
授权