首页
专利数据库
产业人才
行业动态
产业政策法规
维权援助
个人中心
登录/注册
详情
文本
图像
标题:
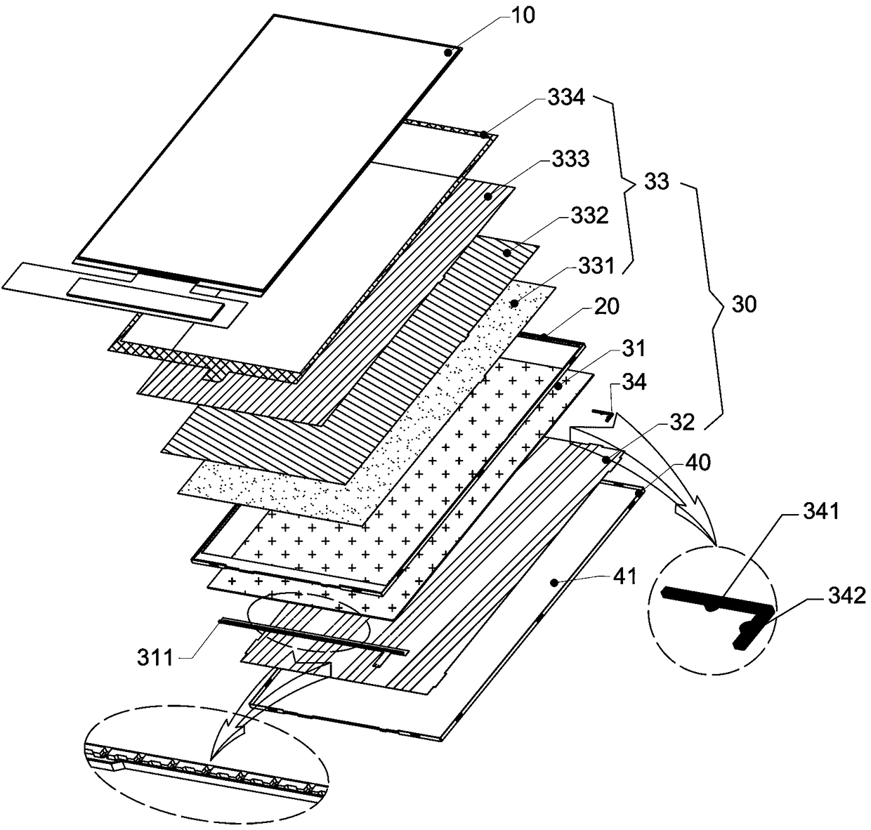
一种节能LCM液晶显示模组
授权日:
1900-01-01
公开(公告)号:
CN108459428A
申请日:
2018-04-13
公开(公告)日:
2018-08-28
当前申请(专利权)人:
深圳市国显科技有限公司
发明人:
陈永求 | 吴心亮 | 查小龙 | 钟立羽 | 周苏令 | 胡育源
简单同族:
CN108459428A
简单同族成员数量:
1
简单同族被引用专利总数:
0
诉讼案件数:
0
法律状态/事件:
实质审查