首页
专利数据库
产业人才
行业动态
产业政策法规
维权援助
个人中心
登录/注册
详情
文本
图像
标题:
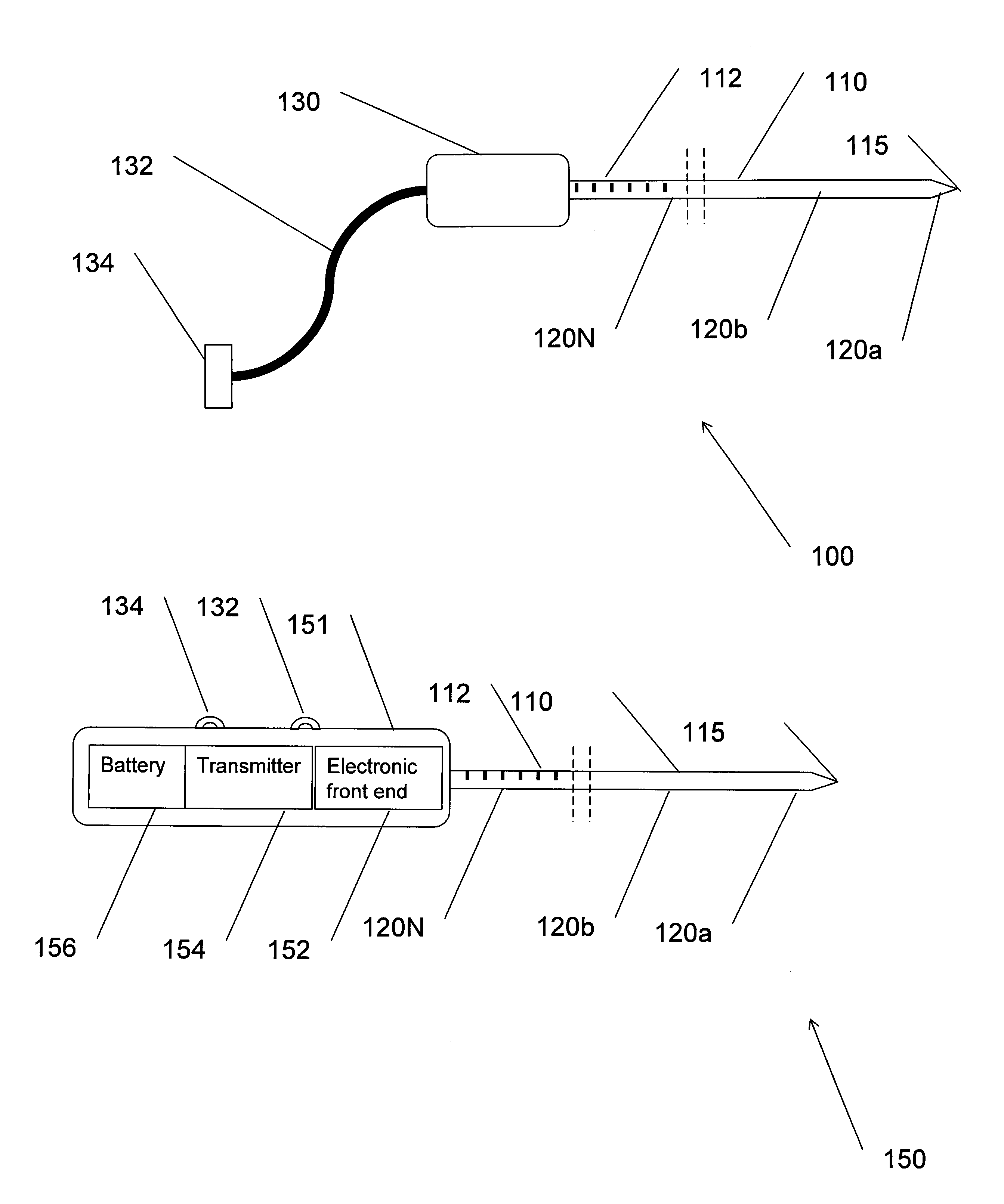
Multiple sensor device for measuring tissue temperature during thermal treatment
授权日:
2013-01-08
公开(公告)号:
US8348855
申请日:
2006-08-29
公开(公告)日:
2013-01-08
当前申请(专利权)人:
SILICON VALLEY BANK
发明人:
HILLELY, RON | BLIWEIS, MORDECHAI
简单同族:
US20090306638A1 | US8348855 | WO2007026354A1
简单同族成员数量:
3
简单同族被引用专利总数:
143
诉讼案件数:
0
法律状态/事件:
授权 | 质押 | 权利转移