首页
专利数据库
产业人才
行业动态
产业政策法规
维权援助
个人中心
登录/注册
详情
文本
图像
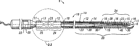
标题:
Guidewire with optical fiber
授权日:
2009-05-12
公开(公告)号:
US7532920
申请日:
2001-05-31
公开(公告)日:
2009-05-12
当前申请(专利权)人:
ABBOTT CARDIOVASCULAR SYSTEMS INC.
发明人:
AINSWORTH, ROBERT D. | KILPATRICK, DEBORAH | LEE, JEONG S. | HURLEY, BRIDGET A. | ELLIS, JEFFREY T. | JALISI, MARC | LIM, FLORENCIA | LONG, CHI
简单同族:
US7532920
简单同族成员数量:
1
简单同族被引用专利总数:
170
诉讼案件数:
0
法律状态/事件:
授权 | 权利转移