首页
专利数据库
产业人才
行业动态
产业政策法规
维权援助
个人中心
登录/注册
详情
文本
图像
标题:
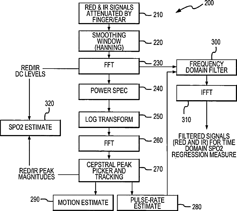
Cepstral domain pulse oximetry
授权日:
1900-01-01
公开(公告)号:
US20040171948A1
申请日:
2003-11-14
公开(公告)日:
2004-09-02
当前申请(专利权)人:
DATEX-OHMEDA, INC.
发明人:
TERRY, ALVIN MARK
简单同族:
AU2003216348A1 | EP1485015A1 | JP2005518238A | US20030163032A1 | US20040171948A1 | US6650918 | US7139599 | WO2003071941A1
简单同族成员数量:
8
简单同族被引用专利总数:
193
诉讼案件数:
0
法律状态/事件:
授权 | 权利转移