首页
专利数据库
产业人才
行业动态
产业政策法规
维权援助
个人中心
登录/注册
详情
文本
图像
标题:
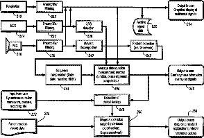
Multi-modal cardiac diagnostic decision support system and method
授权日:
2005-10-11
公开(公告)号:
US6953436
申请日:
2002-09-12
公开(公告)日:
2005-10-11
当前申请(专利权)人:
3M INNOVATIVE PROPERTIES COMPANY
发明人:
WATROUS, RAYMOND | REICHEK, NATHANIEL
简单同族:
US20030093003A1 | US6572560 | US6953436
简单同族成员数量:
3
简单同族被引用专利总数:
190
诉讼案件数:
0
法律状态/事件:
授权 | 权利转移