首页
专利数据库
产业人才
行业动态
产业政策法规
维权援助
个人中心
登录/注册
详情
文本
图像
标题:
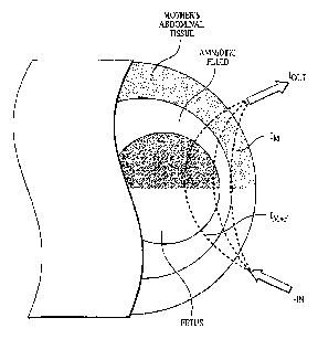
Fetal pulse oximetry
授权日:
2006-05-16
公开(公告)号:
US7047055
申请日:
2001-01-26
公开(公告)日:
2006-05-16
当前申请(专利权)人:
TUFTS UNIVERSITY | GENERAL HOSPITAL CORPORATION, THE
发明人:
BOAS, DAVID ALAN | ZOURABIAN, ANNA
简单同族:
AU2001234590A1 | CA2397840A1 | EP1251770A1 | EP1251770A4 | US20040116789A1 | US7047055 | WO2001054573A1
简单同族成员数量:
7
简单同族被引用专利总数:
179
诉讼案件数:
0
法律状态/事件:
未缴年费 | 权利转移