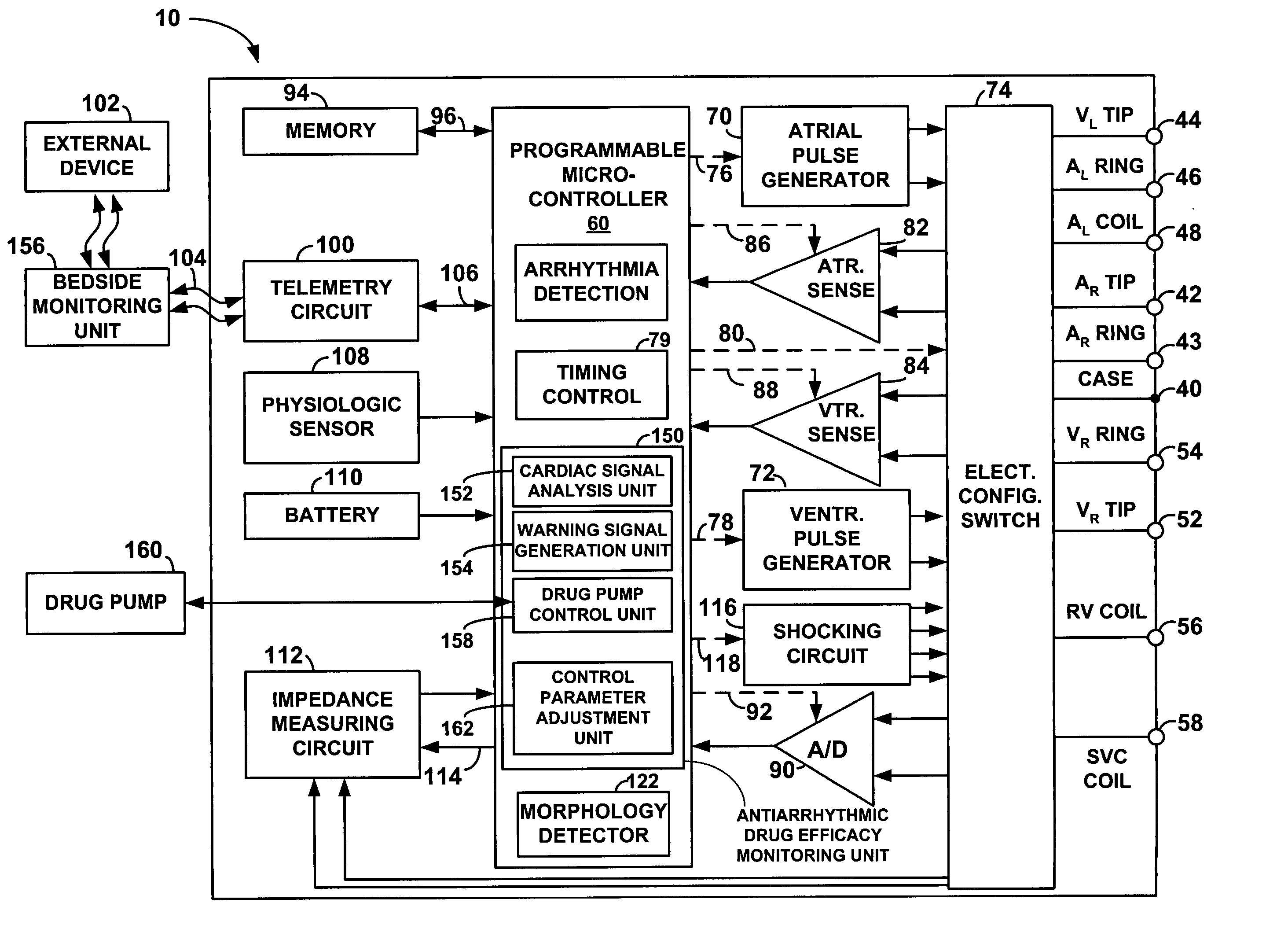
标题:
Method and apparatus for monitoring drug effects on cardiac electrical signals using an implantable cardiac stimulation device
授权日:
1900-01-01
公开(公告)号:
US20040267321A1
申请日:
2003-06-26
公开(公告)日:
2004-12-30
当前申请(专利权)人:
PACESETTER, INC.
发明人:
BOILEAU, PETER | BARSTAD, JANICE | BORNZIN, GENE A. | BRADLEY, KERRY | FALKENBERG, ERIC | FLORIO, JOSEPH J.
简单同族:
DE602004011704D1 | DE602004011704T2 | EP1491234A1 | EP1491234B1 | US20040267321A1 | US7142911
简单同族成员数量:
6
简单同族被引用专利总数:
143
诉讼案件数:
0
法律状态/事件:
未缴年费 | 权利转移