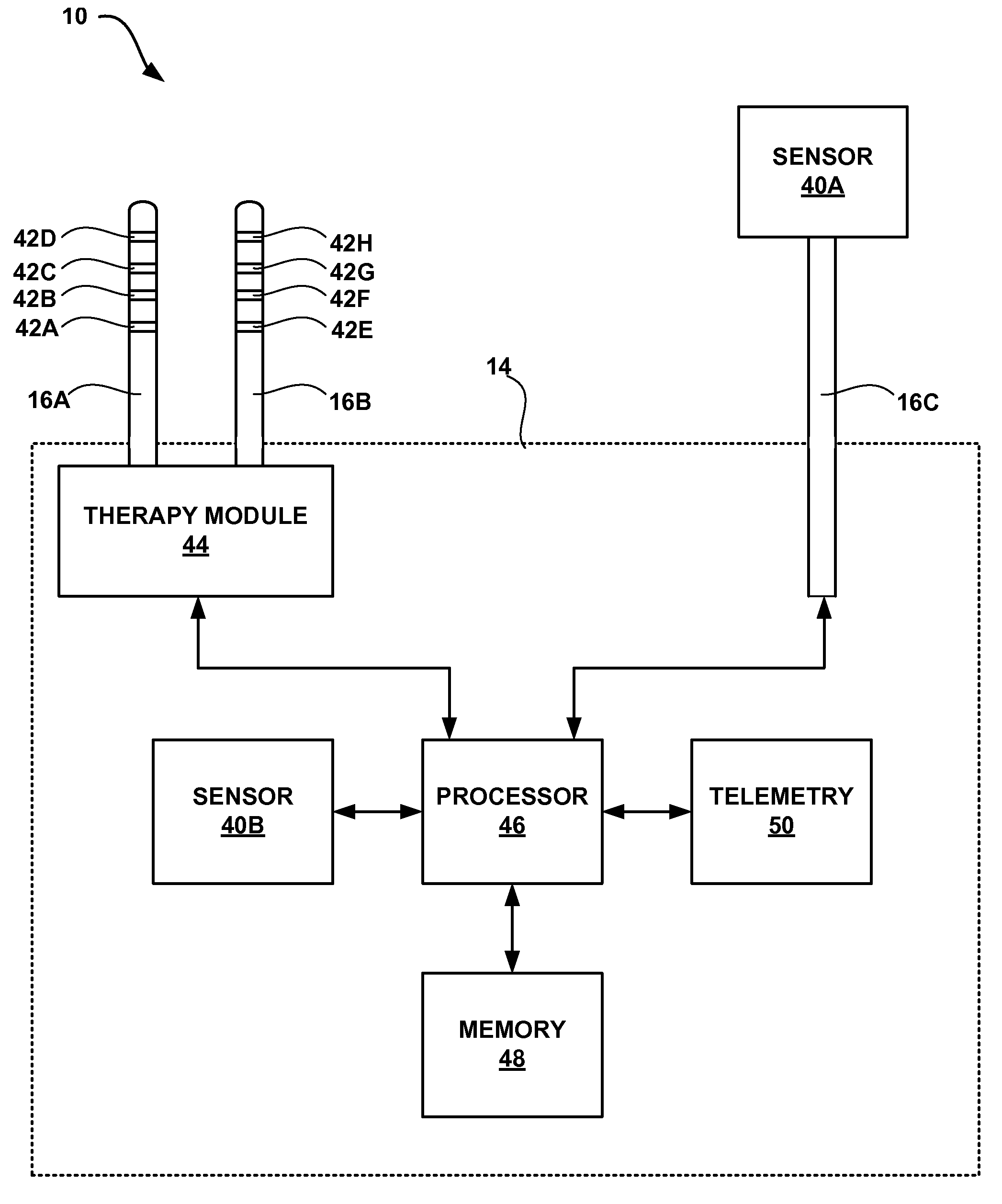
标题:
Collecting sleep quality information via a medical device
授权日:
2014-06-24
公开(公告)号:
US8758242
申请日:
2010-03-12
公开(公告)日:
2014-06-24
当前申请(专利权)人:
MEDTRONIC, INC.
发明人:
MIESEL, KEITH A. | HERUTH, KENNETH T.
简单同族:
US20050209513A1 | US20050215847A1 | US20100174155A1 | US20140249605A1 | US20160158552A1 | US20160263382A1 | US7717848 | US8758242 | US9205264 | US9623248 | WO2005089649A1
简单同族成员数量:
11
简单同族被引用专利总数:
349
诉讼案件数:
0
法律状态/事件:
授权