首页
专利数据库
产业人才
行业动态
产业政策法规
维权援助
个人中心
登录/注册
详情
文本
图像
标题:
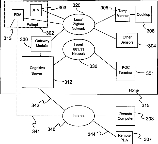
Wireless Health Monitor Device and System with Cognition
授权日:
1900-01-01
公开(公告)号:
US20070197881A1
申请日:
2007-02-22
公开(公告)日:
2007-08-23
当前申请(专利权)人:
WOLF JAMES L | WALKER THOMAS P | HUBER FRANZ | CARUSO ROBERT N
发明人:
WOLF, JAMES L. | WALKER, THOMAS P. | HUBER, FRANZ | CARUSO, ROBERT N.
简单同族:
US20070197881A1
简单同族成员数量:
1
简单同族被引用专利总数:
196
诉讼案件数:
0
法律状态/事件:
撤回