首页
专利数据库
产业人才
行业动态
产业政策法规
维权援助
个人中心
登录/注册
详情
文本
图像
标题:
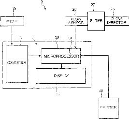
Medical microprocessor system and method for providing a ventilation indexed oximetry value
授权日:
2003-08-19
公开(公告)号:
US6609016
申请日:
2000-07-28
公开(公告)日:
2003-08-19
当前申请(专利权)人:
LYNN LAWRENCE A.
发明人:
LYNN, LAWRENCE A.
简单同族:
US6609016
简单同族成员数量:
1
简单同族被引用专利总数:
186
诉讼案件数:
0
法律状态/事件:
期限届满