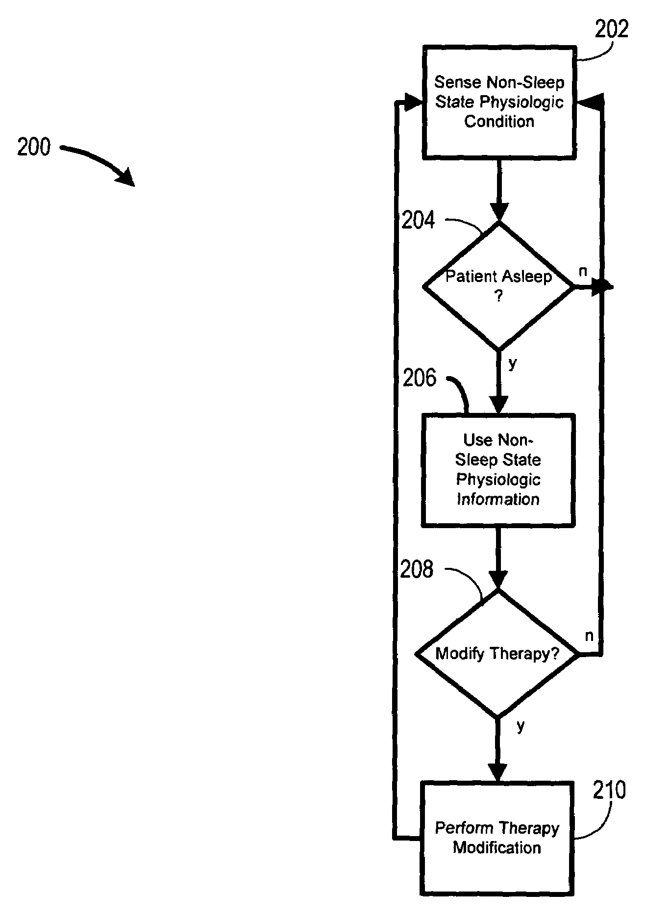
标题:
System and method for moderating a therapy delivered during sleep using physiologic data acquired during non-sleep
授权日:
2010-07-20
公开(公告)号:
US7757690
申请日:
2004-09-13
公开(公告)日:
2010-07-20
当前申请(专利权)人:
CARDIAC PACEMAKERS, INC.
发明人:
STAHMANN, JEFFREY E. | HARTLEY, JESSE W. | LEE, KENT | NI, QUAN
简单同族:
US20050080461A1 | US7757690
简单同族成员数量:
2
简单同族被引用专利总数:
150
诉讼案件数:
0
法律状态/事件:
授权 | 权利转移