首页
专利数据库
产业人才
行业动态
产业政策法规
维权援助
个人中心
登录/注册
详情
文本
图像
标题:
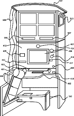
Community based managed health kiosk system
授权日:
1900-01-01
公开(公告)号:
US20090240527A1
申请日:
2009-03-19
公开(公告)日:
2009-09-24
当前申请(专利权)人:
COMPUTERIZED SCREENING, INC.
发明人:
BLUTH, CHARLES P.
简单同族:
US20090240115A1 | US20090240116A1 | US20090240524A1 | US20090240527A1 | US20090240528A1 | US20090240702A1 | US20090241177A1 | US20170319083A1 | US9743844
简单同族成员数量:
9
简单同族被引用专利总数:
162
诉讼案件数:
0
法律状态/事件:
撤回 | 权利转移