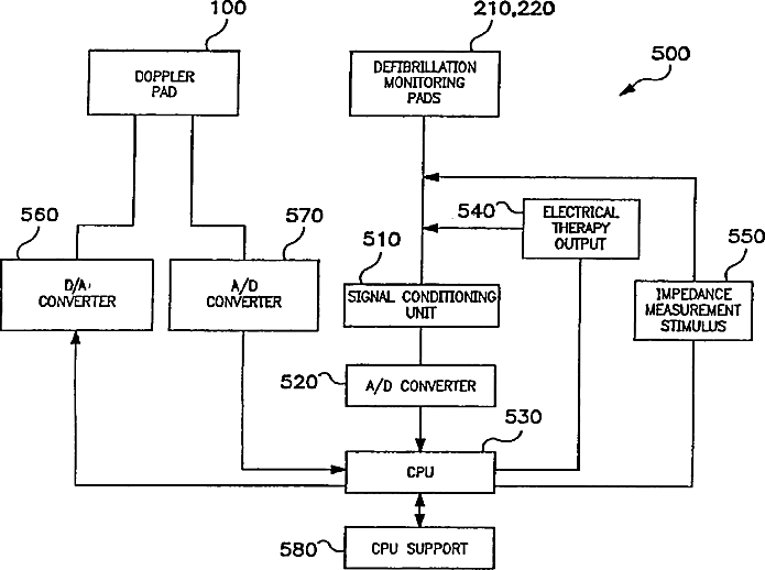
标题:
Integrated cardiac resuscitation system with ability to detect perfusion
授权日:
2003-06-10
公开(公告)号:
US6575914
申请日:
2001-05-18
公开(公告)日:
2003-06-10
当前申请(专利权)人:
KONINKLIJKE PHILIPS ELECTRONICS N.V.
发明人:
ROCK, JOSEPH E. | NAKAGAWA, MICHAEL | ROCHFORD, CATHERINE
简单同族:
CN1291697C | CN1463194A | EP1463562A1 | JP2004533876A | US20020173725A1 | US6575914 | WO2002094373A1
简单同族成员数量:
7
简单同族被引用专利总数:
151
诉讼案件数:
0
法律状态/事件:
授权