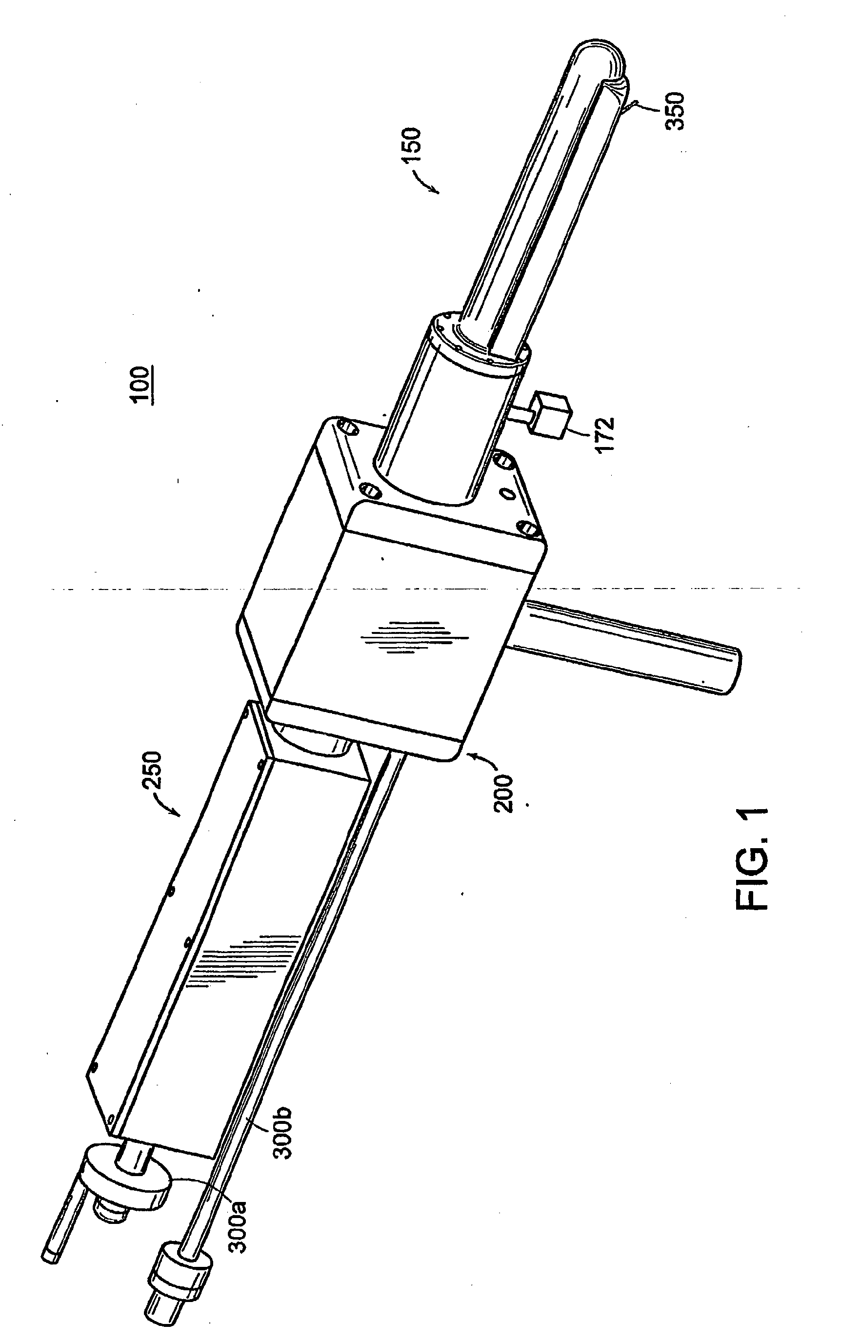
标题:
Apparatus for insertion of a medical device during a medical imaging process
授权日:
2014-03-12
公开(公告)号:
EP1501411B1
申请日:
2003-04-22
公开(公告)日:
2014-03-12
当前申请(专利权)人:
JOHNS HOPKINS UNIVERSITY
发明人:
FICHTINGER, GABOR | ATALAR, ERGIN | WHITCOMB, LOUIS, LICHTFIELD | SUSIL, ROBERT CHARLES | KRIEGER, AXEL | TANACS, ATTILA
简单同族:
AU2003237089A1 | AU2003237089B2 | AU2009201553A1 | EP1501411A1 | EP1501411A4 | EP1501411B1 | JP2005523741A | US20060241368A1 | US20120310112A1 | US20140187913A1 | US8244327 | US8706186 | US9588195 | WO2003088833A1 | WO2003088833A9
简单同族成员数量:
15
简单同族被引用专利总数:
188
诉讼案件数:
0
法律状态/事件:
授权