标题:
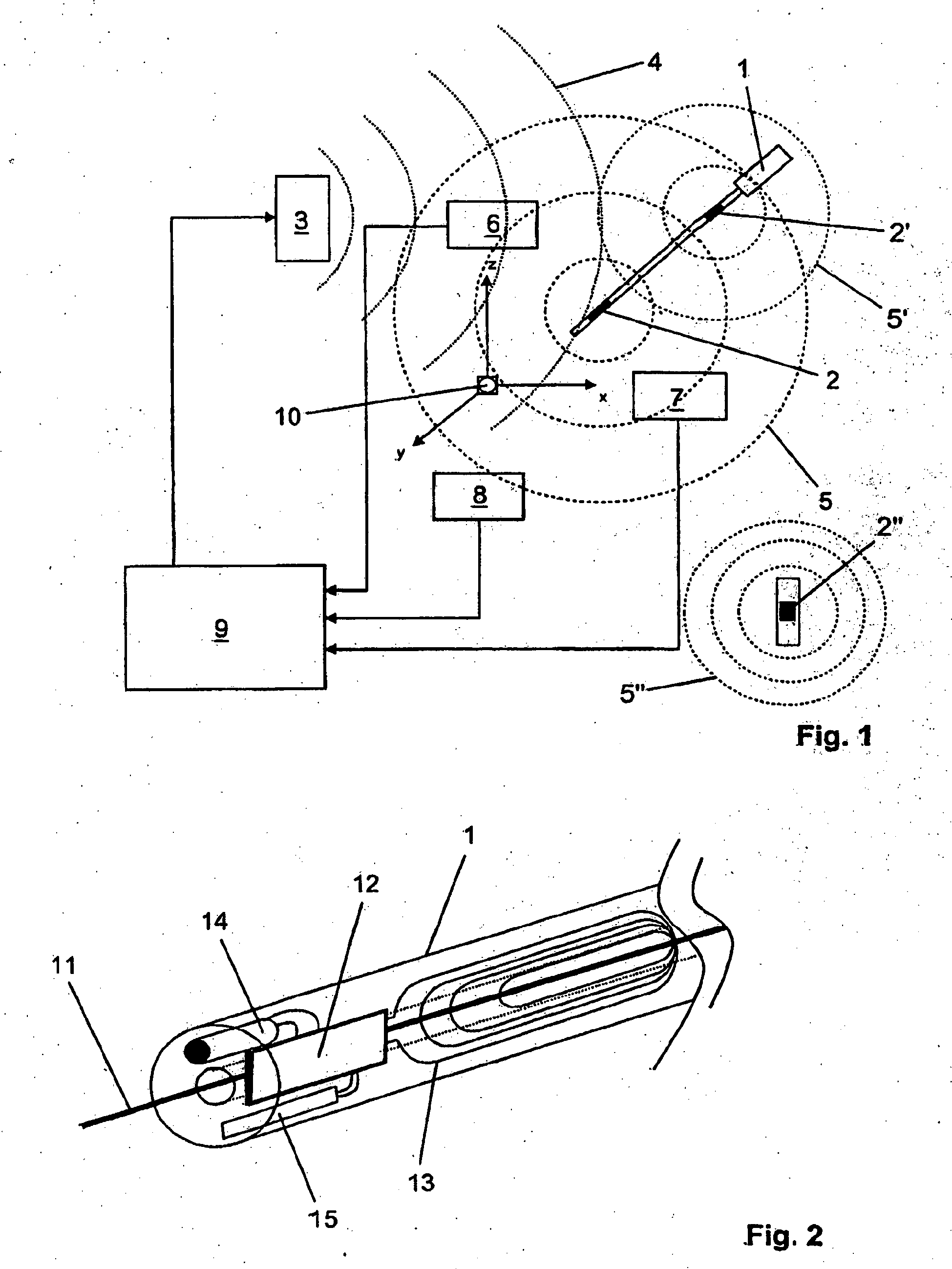
System for determining the position of a medical instrument
授权日:
2015-08-12
公开(公告)号:
EP2034879B1
申请日:
2007-06-22
公开(公告)日:
2015-08-12
当前申请(专利权)人:
AMEDO SMART TRACKING SOLUTIONS GMBH
发明人:
TRÖSKEN, VOLKER | HASENAU, LASZLO | GRÖNEMEYER, DIETRICH
简单同族:
CA2655805A1 | CN101578064A | DE102006029122A1 | DK2034879T3 | EP2034879A2 | EP2034879B1 | JP2009540895A | JP5582781B2 | RU2009101949A | RU2472435C2 | US20090281419A1 | WO2007147614A2 | WO2007147614A3
简单同族成员数量:
13
简单同族被引用专利总数:
138
诉讼案件数:
0
法律状态/事件:
权利终止 | 权利转移