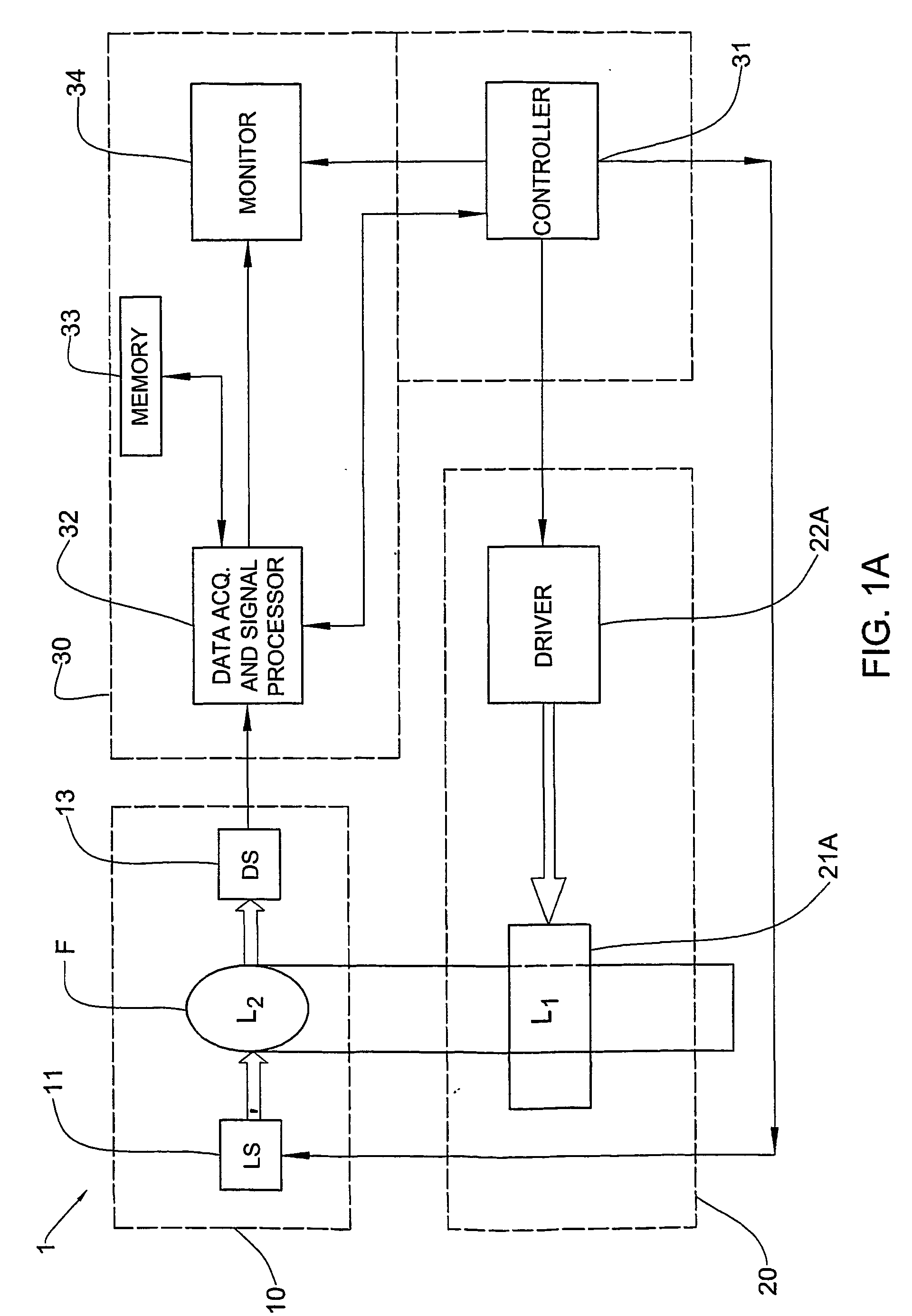
标题:
Device for measuring concentration of glucose or other substances in blood
授权日:
2005-08-31
公开(公告)号:
EP1292216B1
申请日:
2001-06-11
公开(公告)日:
2005-08-31
当前申请(专利权)人:
ORSENSE LTD.
发明人:
FINE, ILYA | FIKHTE, BORIS | VINOKUR, MARK
简单同族:
AT303095T | AU2001274451A1 | DE60113105D1 | DE60113105T2 | EP1292216A2 | EP1292216B1 | EP1609411A1 | IL136673D0 | US20030137650A1 | US6804002 | WO2001096872A2 | WO2001096872A3
简单同族成员数量:
12
简单同族被引用专利总数:
126
诉讼案件数:
0
法律状态/事件:
授权