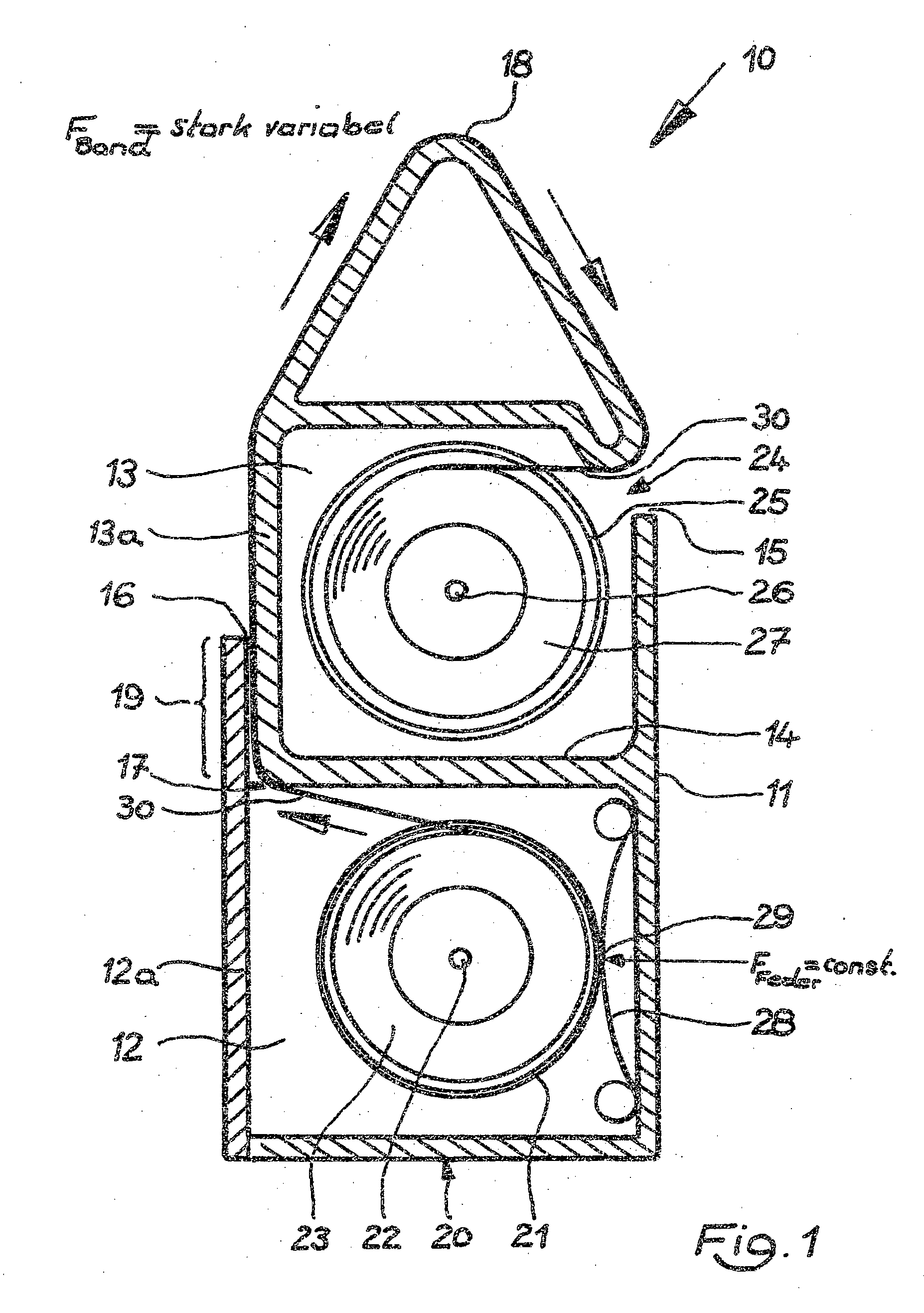
标题:
Tape magazine for hand-held device for analyzing body fluids, and hand-held device
授权日:
2015-04-15
公开(公告)号:
EP2191773B1
申请日:
2006-03-07
公开(公告)日:
2015-04-15
当前申请(专利权)人:
ROCHE DIAGNOSTICS GMBH | F. HOFFMANN-LA ROCHE AG
发明人:
LIST, HANS | HAAR, HANS-PETER, DR. | ROESICKE, BERND
简单同族:
AT464840T | CA2539018A1 | CA2539018C | CA2758158A1 | CA2758158C | CN100553559C | CN101655502A | CN101655502B | CN1833610A | DE102005013685A1 | DE502006006746D1 | DK1702565T3 | EP1702565A2 | EP1702565A3 | EP1702565B1 | EP2191773A1 | EP2191773B1 | EP2191773B9 | ES2341983T3 | HK1139734A | HK1139734A1 | JP2006263465A | JP2010005443A | JP4663558B2 | JP5211009B2 | PL1702565T3 | PT1702565E | US20060240403A1 | US20110229960A1 | US20140361112A1 | US8815154 | US9119581
简单同族成员数量:
32
简单同族被引用专利总数:
122
诉讼案件数:
0
法律状态/事件:
授权 | 权利转移