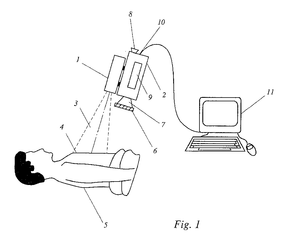
标题:
Apparatus for determining tissue perfusion and the associated intraoperative method of use
授权日:
1900-01-01
公开(公告)号:
EP1210906A1
申请日:
2001-11-26
公开(公告)日:
2002-06-05
当前申请(专利权)人:
PULSION MEDICAL SYSTEMS AG
发明人:
PFEIFFER, ULRICH, J., DR. | BECKER, ANDREAS, DR. | EDER, NORBERT | BURGER, THORSTEN, DR. | TÖNS, CHRISTIAN, DR.
简单同族:
AT328535T | CA2363770A1 | CA2363770C | DE10059070C1 | EP1210906A1 | EP1210906B1 | ES2266073T3 | JP2002219129A | US20020099279A1 | US6631286
简单同族成员数量:
10
简单同族被引用专利总数:
141
诉讼案件数:
0
法律状态/事件:
授权