标题:
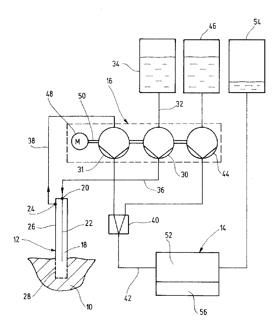
Microdialysis device
授权日:
1900-01-01
公开(公告)号:
EP1177759A1
申请日:
2001-07-05
公开(公告)日:
2002-02-06
当前申请(专利权)人:
ROCHE DIAGNOSTICS GMBH | F. HOFFMANN-LA ROCHE AG
发明人:
ROEPER, JOSEF | SCHOEMAKER, MICHAEL | HOERAUF, CHRISTIAN
简单同族:
AT279877T | DE10038835A1 | DE10038835B4 | EP1177759A1 | EP1177759B1 | ES2230215T3 | JP2002126074A | JP2002126074A5 | JP4061039B2 | US20020082490A1 | US6591126
简单同族成员数量:
11
简单同族被引用专利总数:
182
诉讼案件数:
0
法律状态/事件:
权利终止 | 权利转移