首页
专利数据库
产业人才
行业动态
产业政策法规
维权援助
个人中心
登录/注册
详情
文本
图像
标题:
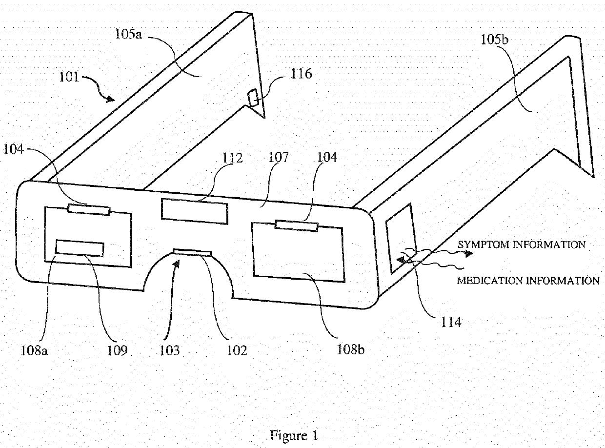
Head mountable apparatus
授权日:
1900-01-01
公开(公告)号:
EP3498150A1
申请日:
2017-12-13
公开(公告)日:
2019-06-19
当前申请(专利权)人:
VESTEL ELEKTRONIK SANAYI VE TICARET A.S.
发明人:
DÖNER, ÇAGDAS
简单同族:
EP3498150A1 | TR201722078A2
简单同族成员数量:
2
简单同族被引用专利总数:
0
诉讼案件数:
0
法律状态/事件:
公开