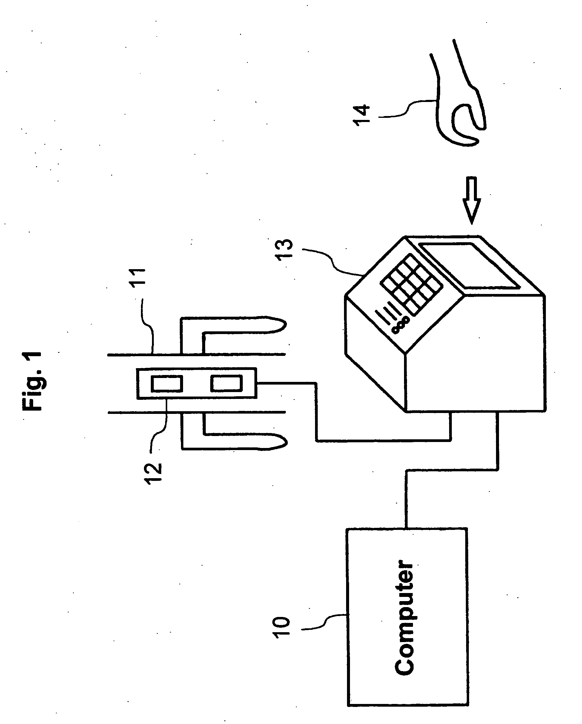
标题:
Organism authenticating apparatus
授权日:
2009-04-15
公开(公告)号:
EP1376465B1
申请日:
2002-02-25
公开(公告)日:
2009-04-15
当前申请(专利权)人:
BIONICS CO., LTD.
发明人:
CHOSHI, KINYA, BIONICS CO., LTD. | KANEDA, YUSUKE, BIONICS CO., LTD.
简单同族:
CN1262970C | CN1494702A | DE60231968D1 | EP1376465A1 | EP1376465A4 | EP1376465B1 | IL157347A | IL157347D0 | JP2003085539A | JP2003242492A | JP2003242492A5 | JP3396680B2 | TWI236635B | US20040071322A1 | US7327861 | WO2002069260A1
简单同族成员数量:
16
简单同族被引用专利总数:
126
诉讼案件数:
0
法律状态/事件:
权利终止