标题:
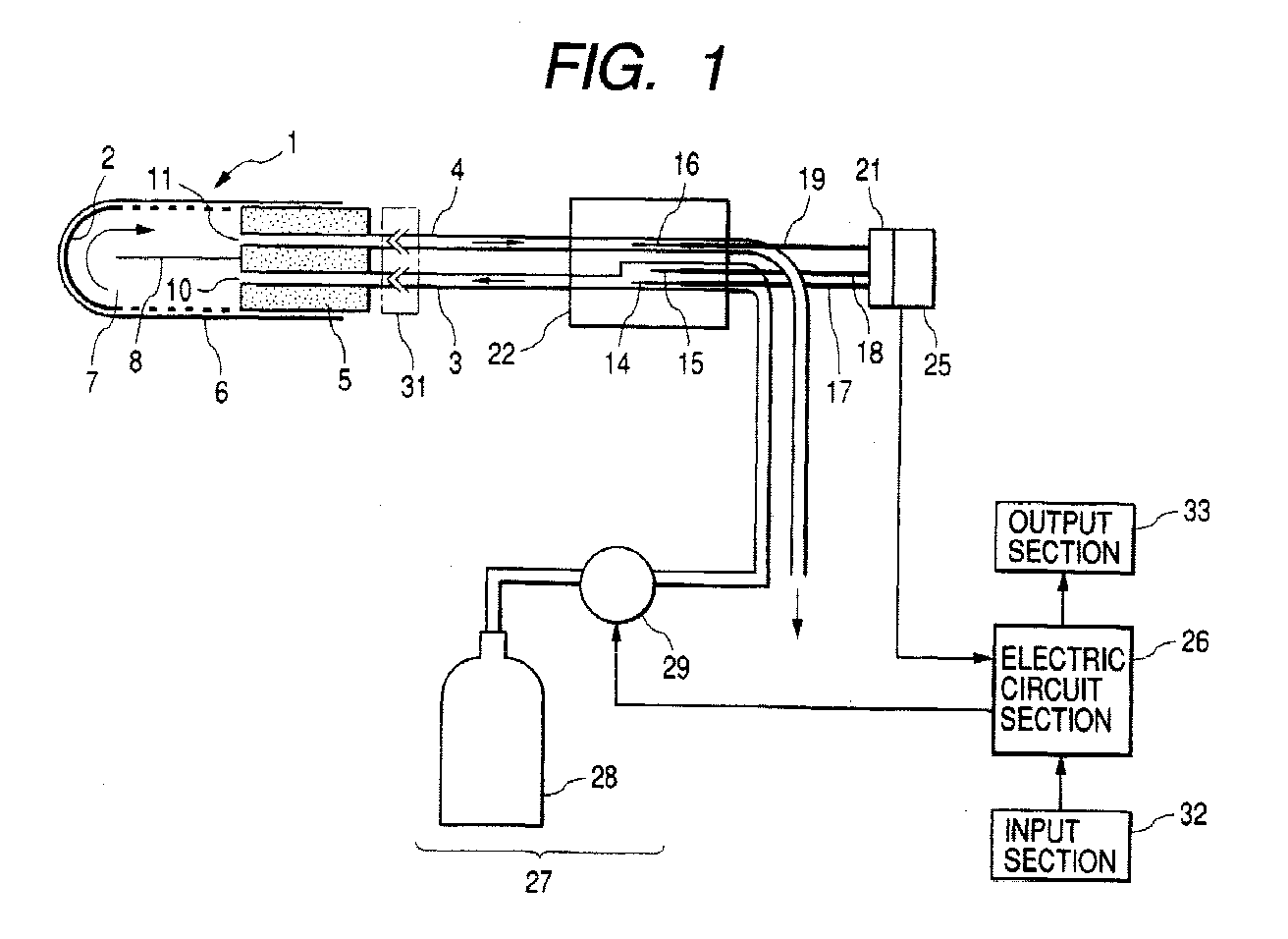
Gas sensor and gas sensor system
授权日:
1900-01-01
公开(公告)号:
EP1130393A2
申请日:
2001-02-02
公开(公告)日:
2001-09-05
当前申请(专利权)人:
NIHON KOHDEN CORPORATION
发明人:
NAKAMURA, MICHIHIRO, NIHON KOHDEN CORPORATION | NAGAI, YUKO, NIHON KOHDEN CORPORATION | SEKIGUCHI, TETSUSHI, NIHON KOHDEN CORPORATION
简单同族:
EP1130393A2 | EP1130393A3 | US20010011475A1 | US6370941
简单同族成员数量:
4
简单同族被引用专利总数:
211
诉讼案件数:
0
法律状态/事件:
撤回