标题:
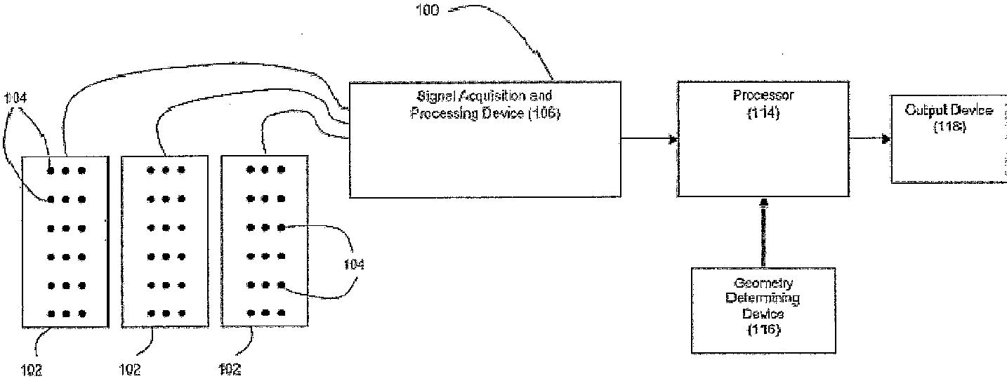
System and method for noninvasive electrocardiographic image (ecgd
授权日:
1900-01-01
公开(公告)号:
EP1906821A4
申请日:
2006-07-21
公开(公告)日:
2009-12-30
当前申请(专利权)人:
CASE WESTERN RESERVE UNIVERSITY
发明人:
RUDY, YORAM | WANG, YONG | JIA, PING
简单同族:
CA2616263A1 | CA2616263C | EP1906821A2 | EP1906821A4 | EP1906821B1 | EP2436309A2 | EP2436309A3 | US20090053102A2 | US7983743 | WO2007013994A2 | WO2007013994A3
简单同族成员数量:
11
简单同族被引用专利总数:
119
诉讼案件数:
0
法律状态/事件:
授权