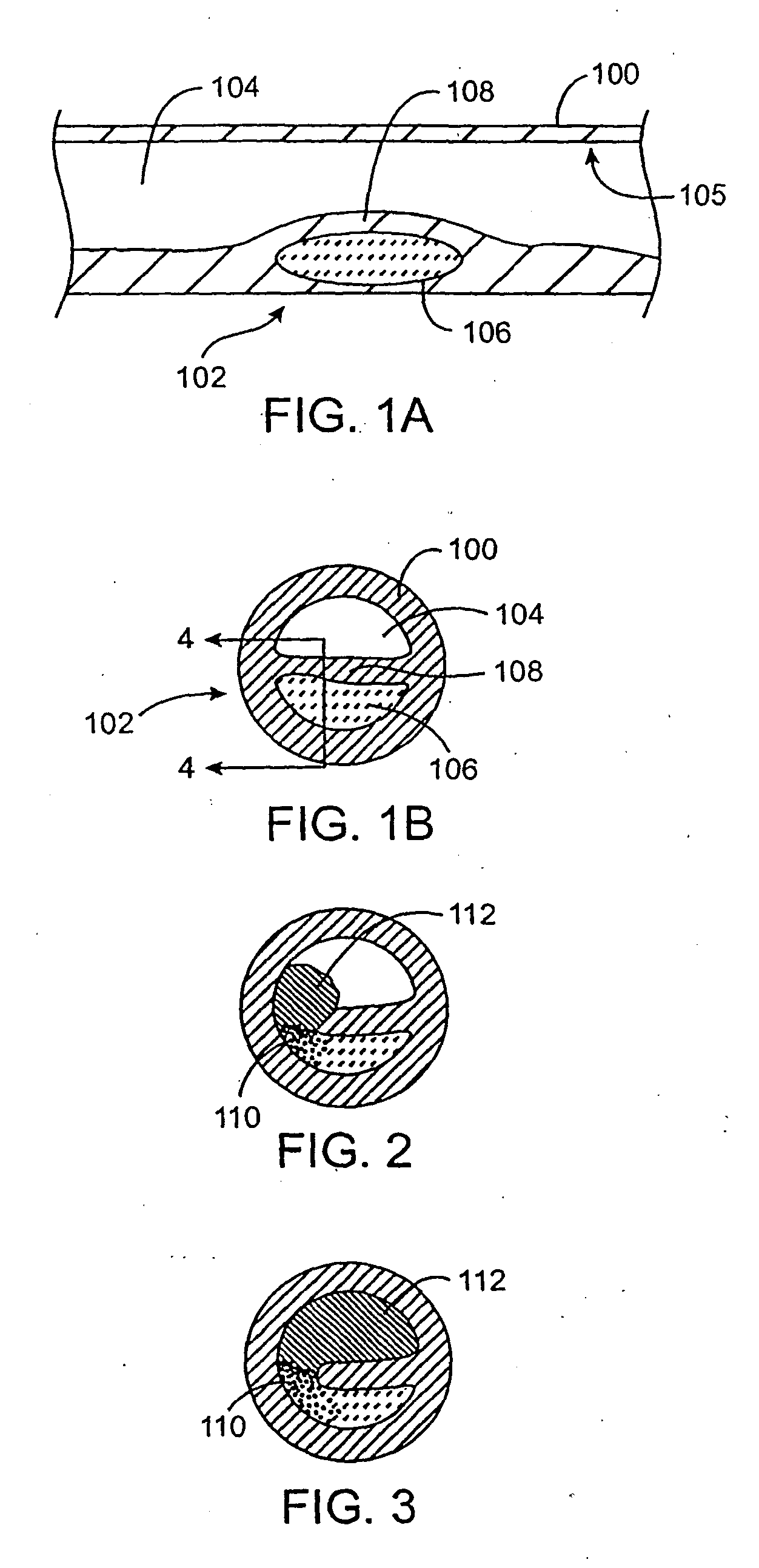
标题:
Cryotherapy catheter for detecting and treating vulnerable plaque
授权日:
2010-11-17
公开(公告)号:
EP1603475B1
申请日:
2004-03-05
公开(公告)日:
2010-11-17
当前申请(专利权)人:
CRYOVASCULAR SYSTEMS, INC.
发明人:
JOYE, JAMES | TATSUTANI, KRISTINE | WILLIAMS, JOSEPH, J.
简单同族:
AT488193T | AU2004220609A1 | CA2518444A1 | DE602004030097D1 | EP1603475A2 | EP1603475A4 | EP1603475B1 | JP2006521878A | JP4871719B2 | US20040002749A1 | US20060015092A1 | US20100318075A1 | US6955174 | US7780608 | US8029449 | WO2004080280A2 | WO2004080280A3
简单同族成员数量:
17
简单同族被引用专利总数:
184
诉讼案件数:
0
法律状态/事件:
授权