首页
专利数据库
产业人才
行业动态
产业政策法规
维权援助
个人中心
登录/注册
详情
文本
图像
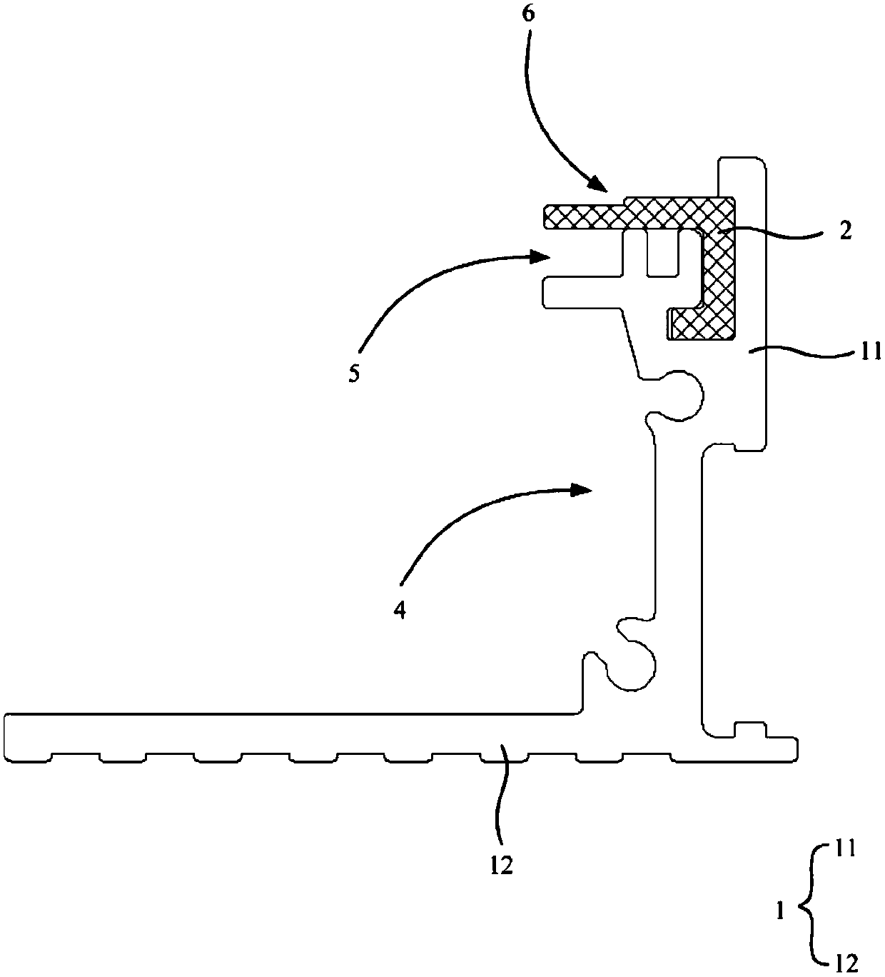
标题:
直下式背光框体和液晶显示屏模组装置
授权日:
2019-06-25
公开(公告)号:
CN209028368U
申请日:
2018-09-29
公开(公告)日:
2019-06-25
当前申请(专利权)人:
深圳市元众实业有限公司
发明人:
刘波 | 刘长青 | 杨加定
简单同族:
CN209028368U
简单同族成员数量:
1
简单同族被引用专利总数:
0
诉讼案件数:
0
法律状态/事件:
授权