标题:
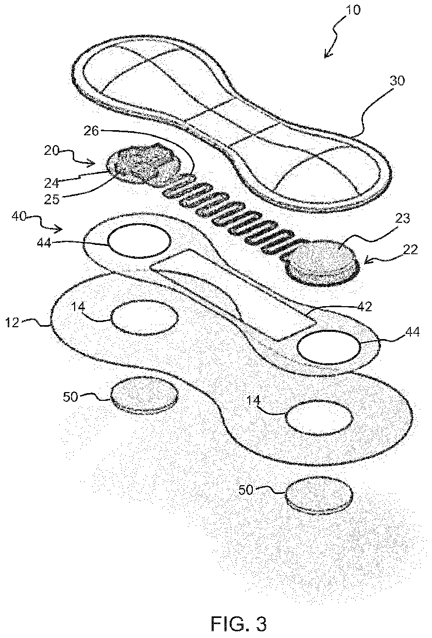
A wearable device
授权日:
1900-01-01
公开(公告)号:
EP3578096A1
申请日:
2018-06-07
公开(公告)日:
2019-12-11
当前申请(专利权)人:
KONINKLIJKE PHILIPS N.V. | NEDERLANDSE ORGANISATIE VOOR TOEGEPAST- NATUURWETENSCHAPPELIJK ONDERZOEK TNO
发明人:
GROB, TIMON RUTGER | TASAR, OZGUR | TALGORN, ELISE CLAUDE VALENTINE | ADRIAENSSEN, LIEVEN | BARINK, MARCO | SMITS, EDSGER CONSTANT PIETER | VAN DEN BRAND, JEROEN
简单同族:
EP3578096A1 | WO2019233807A1
简单同族成员数量:
2
简单同族被引用专利总数:
0
诉讼案件数:
0
法律状态/事件:
公开 | 权利转移