首页
专利数据库
产业人才
行业动态
产业政策法规
维权援助
个人中心
登录/注册
详情
文本
图像
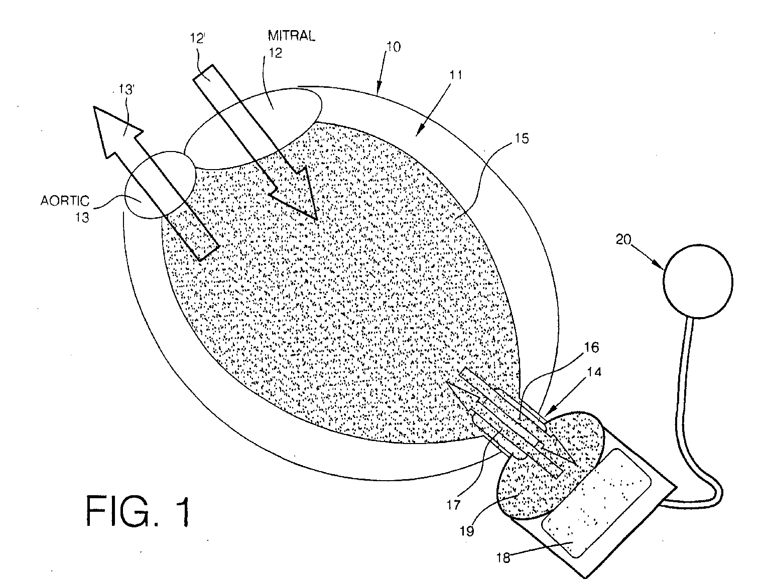
标题:
Single cannula ventricular-assist apparatus
授权日:
1900-01-01
公开(公告)号:
EP1258259A2
申请日:
2002-05-16
公开(公告)日:
2002-11-20
当前申请(专利权)人:
LEVRAM MEDICAL DEVICES, LTD.
发明人:
LANDESBERG, AMIR
简单同族:
CA2385681A1 | EP1258259A2 | EP1258259A3 | JP2003047656A | US20020173693A1 | US6511413
简单同族成员数量:
6
简单同族被引用专利总数:
171
诉讼案件数:
0
法律状态/事件:
撤回