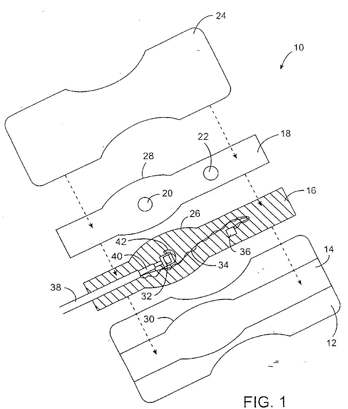
标题:
Pulse oximeter sensor with widened metal strip
授权日:
1900-01-01
公开(公告)号:
EP1502539A2
申请日:
2000-11-01
公开(公告)日:
2005-02-02
当前申请(专利权)人:
MALLINCKRODT INC.
发明人:
CHIN, RODNEY
简单同族:
AT287237T | AT506001T | CA2392219A1 | DE60017585D1 | DE60017585T2 | DE60045876D1 | EP1231857A1 | EP1231857B1 | EP1502539A2 | EP1502539A3 | EP1502539B1 | ES2235989T3 | ES2362727T3 | JP2003514606A | JP4605967B2 | US20020038082A1 | US6694160 | WO2001037725A1
简单同族成员数量:
18
简单同族被引用专利总数:
148
诉讼案件数:
0
法律状态/事件:
授权