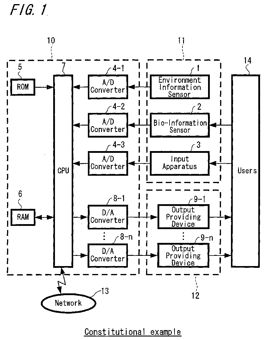
标题:
Control apparatus and control method
授权日:
1900-01-01
公开(公告)号:
EP1494111A2
申请日:
2004-06-17
公开(公告)日:
2005-01-05
当前申请(专利权)人:
SONY CORPORATION
发明人:
TERAUCHI, TOSHIRO, SONY CORPORATION | SAKO, YOICHIRO, SONY CORPORATION | INOUE, AKIKO, SONY CORPORATION | INOUE, MAKOTO, SONY CORPORATION | SHIRAI, KATSUYA, SONY CORPORATION | MIYAJIMA, YASUCHI, SONY CORPORATION | MAKINO, KENICHI, SONY CORPORATION | TAKAI, MOTOYUKI, SONY CORPORATION
简单同族:
AU2004202501A1 | AU2004202501B2 | CA2472661A1 | CN100399981C | CN1575745A | EP1494111A2 | HK1069522A | HK1069522A1 | JP2005021255A | KR1020050005757A | MY136162A | SG139542A1 | TW200506692A | TWI268439B | US20040263337A1 | US7224282
简单同族成员数量:
16
简单同族被引用专利总数:
163
诉讼案件数:
0
法律状态/事件:
撤回