首页
专利数据库
产业人才
行业动态
产业政策法规
维权援助
个人中心
登录/注册
详情
文本
图像
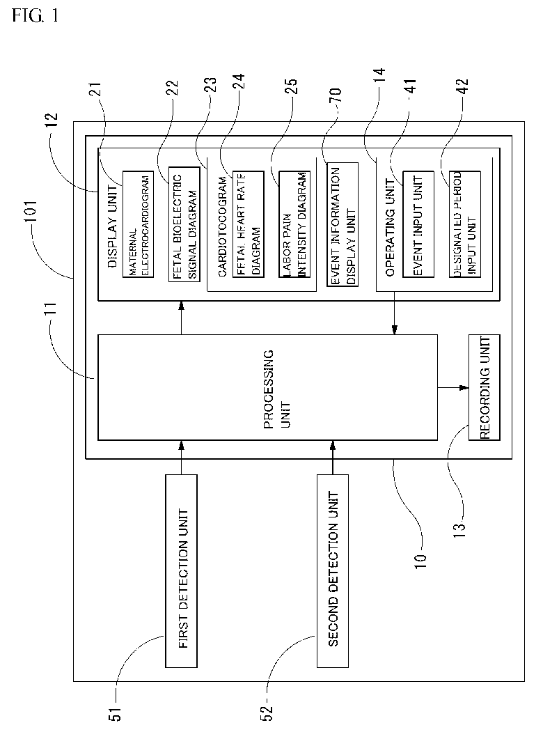
标题:
Maternal and fetal monitoring device and monitoring device display device
授权日:
1900-01-01
公开(公告)号:
EP3646777A1
申请日:
2018-06-28
公开(公告)日:
2020-05-06
当前申请(专利权)人:
ATOM MEDICAL CORPORATION
发明人:
SUDO, KAZUHIKO | ODAGIRI, NAOKO | OOWADA, KAZUNARI | KUBO, MASAYUKI | SONE, YOSHIKATSU | MATSUBARA, ICHIRO
简单同族:
EP3646777A1
简单同族成员数量:
1
简单同族被引用专利总数:
0
诉讼案件数:
0
法律状态/事件:
公开