首页
专利数据库
产业人才
行业动态
产业政策法规
维权援助
个人中心
登录/注册
详情
文本
图像
标题:
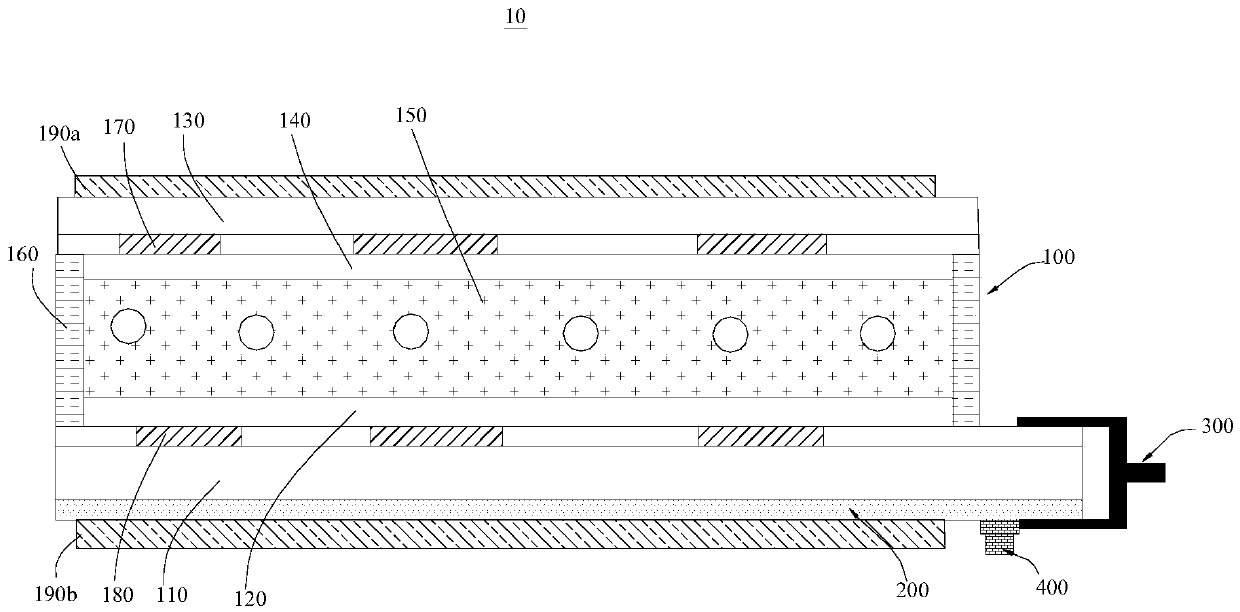
超低温快速显示液晶屏
授权日:
2019-12-27
公开(公告)号:
CN209858890U
申请日:
2019-04-26
公开(公告)日:
2019-12-27
当前申请(专利权)人:
康惠(惠州)半导体有限公司
发明人:
林志坚 | 王海 | 曾新勇 | 江龙
简单同族:
CN209858890U
简单同族成员数量:
1
简单同族被引用专利总数:
0
诉讼案件数:
0
法律状态/事件:
授权