首页
专利数据库
产业人才
行业动态
产业政策法规
维权援助
个人中心
登录/注册
详情
文本
图像
标题:
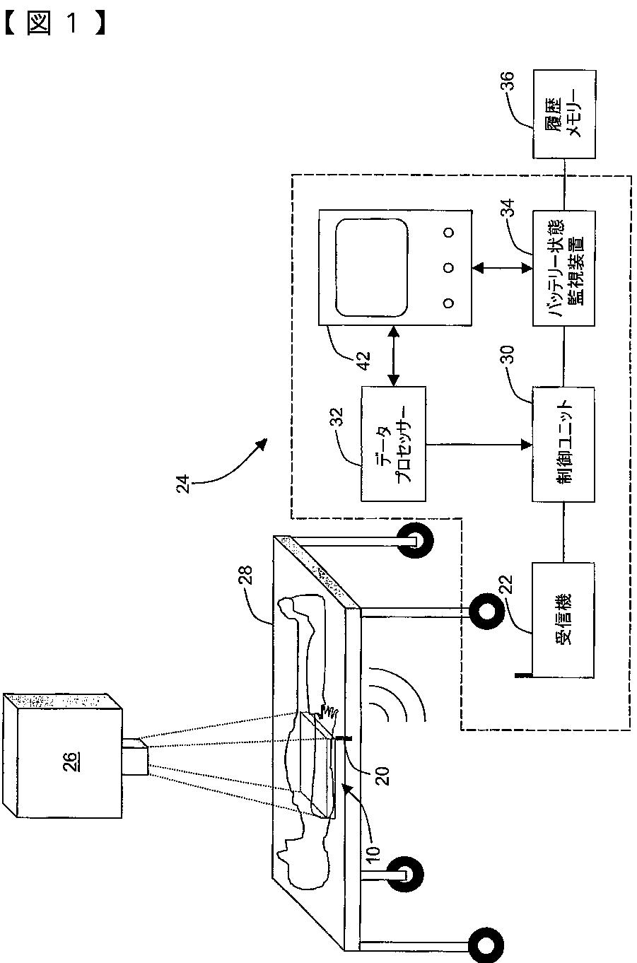
医療機器の無線バッテリー状態管理
授权日:
2014-05-16
公开(公告)号:
JP5543506B2
申请日:
2012-02-27
公开(公告)日:
2014-07-09
当前申请(专利权)人:
コーニンクレッカ フィリップス エヌ ヴェ
发明人:
マーク,ハンス-インゴ
简单同族:
CN101052889A | CN104678315A | CN104678315B | EP1828794A1 | EP1828794B1 | JP2008518711A | JP2012161614A | JP5543506B2 | US20080312852A1 | US7805263 | WO2006048838A1
简单同族成员数量:
11
简单同族被引用专利总数:
150
诉讼案件数:
0
法律状态/事件:
授权