首页
专利数据库
产业人才
行业动态
产业政策法规
维权援助
个人中心
登录/注册
详情
文本
图像
标题:
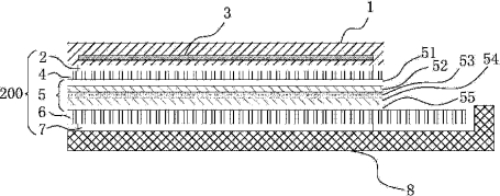
一种触摸层嵌入至盖板玻璃内部的液晶触摸屏
授权日:
2014-12-24
公开(公告)号:
CN204044459U
申请日:
2014-07-31
公开(公告)日:
2014-12-24
当前申请(专利权)人:
江门亿都电子科技有限公司
发明人:
吴耕豪 | 郭基辉 | 韩会黎
简单同族:
CN204044459U
简单同族成员数量:
1
简单同族被引用专利总数:
0
诉讼案件数:
0
法律状态/事件:
授权