首页
专利数据库
产业人才
行业动态
产业政策法规
维权援助
个人中心
登录/注册
详情
文本
图像
标题:
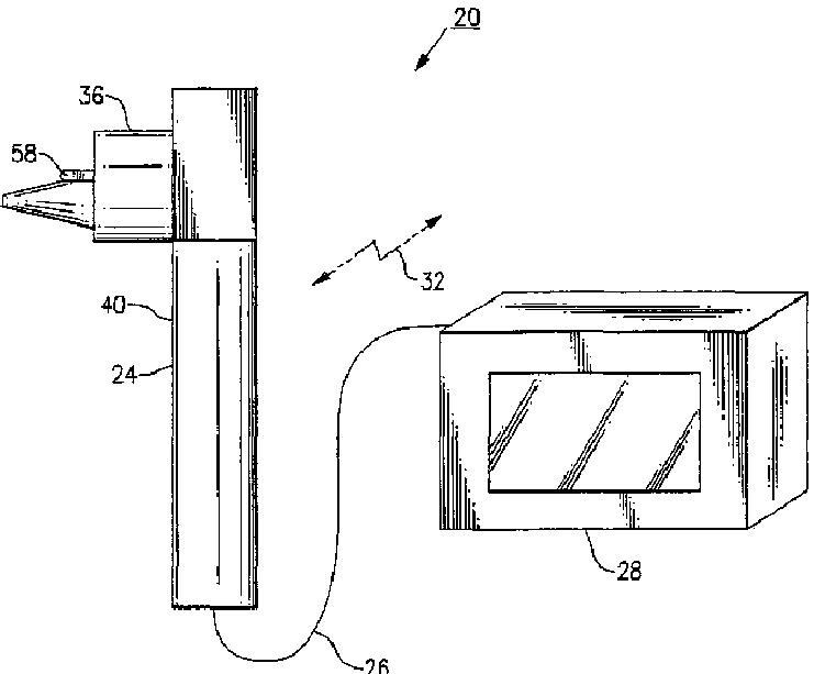
赤外線体温計
授权日:
1900-01-01
公开(公告)号:
JP2004528085A
申请日:
2002-04-02
公开(公告)日:
2004-09-16
当前申请(专利权)人:
ウェルチ·アリン·インコーポレーテッド
发明人:
リチャード ダブリュ ニューマン | アラン アイ クラウター
简单同族:
AU2002256070A1 | AU2002256070B2 | CA2442937A1 | EP1373846A1 | JP2004528085A | JP2004528085A5 | US20020143257A1 | US6631287 | WO2002082029A1
简单同族成员数量:
9
简单同族被引用专利总数:
143
诉讼案件数:
0
法律状态/事件:
驳回