首页
专利数据库
产业人才
行业动态
产业政策法规
维权援助
个人中心
登录/注册
详情
文本
图像
标题:
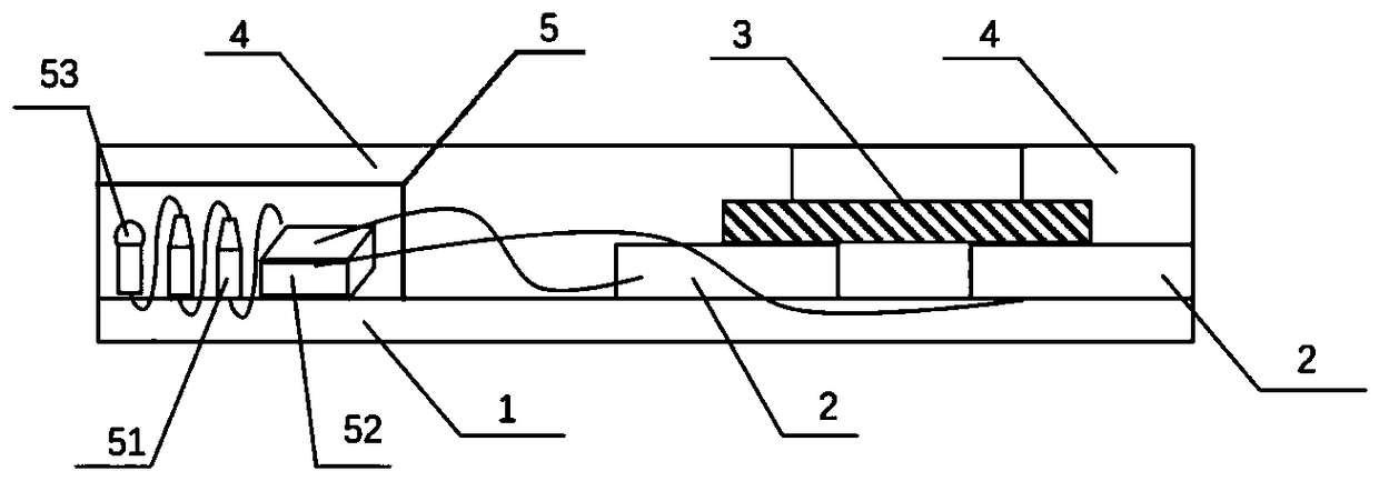
一种监测咽炎的柔性薄膜电极装置及制备方法
授权日:
1900-01-01
公开(公告)号:
CN108888239A
申请日:
2018-05-17
公开(公告)日:
2018-11-27
当前申请(专利权)人:
华东师范大学
发明人:
李佳 | 张健 | 黄淳
简单同族:
CN108888239A
简单同族成员数量:
1
简单同族被引用专利总数:
0
诉讼案件数:
0
法律状态/事件:
实质审查