标题:
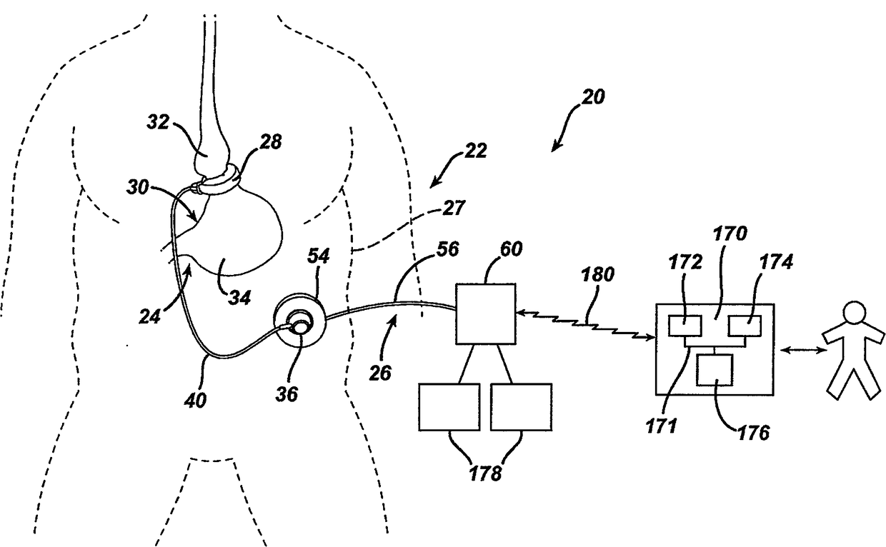
摄食量限制装置的远程监视和调节
授权日:
2011-06-29
公开(公告)号:
CN1883413B
申请日:
2006-06-22
公开(公告)日:
2011-06-29
当前申请(专利权)人:
伊西康内外科公司
发明人:
小威廉・L・哈斯勒
简单同族:
AT427085T | AU2006202142A1 | AU2006202142B2 | BRPI0602354A | BRPI0602354A2 | CA2548263A1 | CA2548263C | CN1883413A | CN1883413B | DE602006005987D1 | EP1736123A1 | EP1736123B1 | ES2322191T3 | HK1098337A | HK1098337A1 | IL175850A | IL175850D0 | JP2007000642A | KR1020060135520A | MXPA06007433A | RU2006122627A | RU2456918C2 | SG128620A1 | US20080009680A1
简单同族成员数量:
24
简单同族被引用专利总数:
177
诉讼案件数:
0
法律状态/事件:
授权