首页
专利数据库
产业人才
行业动态
产业政策法规
维权援助
个人中心
登录/注册
详情
文本
图像
标题:
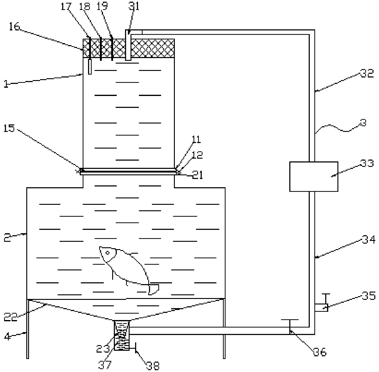
一种水生动物代谢测定装置
授权日:
2020-02-07
公开(公告)号:
CN210019294U
申请日:
2019-04-22
公开(公告)日:
2020-02-07
当前申请(专利权)人:
江苏农牧科技职业学院
发明人:
王建国 | 王权 | 吴娟 | 李同灿 | 张春丽 | 陈思
简单同族:
CN210019294U
简单同族成员数量:
1
简单同族被引用专利总数:
0
诉讼案件数:
0
法律状态/事件:
授权