首页
专利数据库
产业人才
行业动态
产业政策法规
维权援助
个人中心
登录/注册
详情
文本
图像
标题:
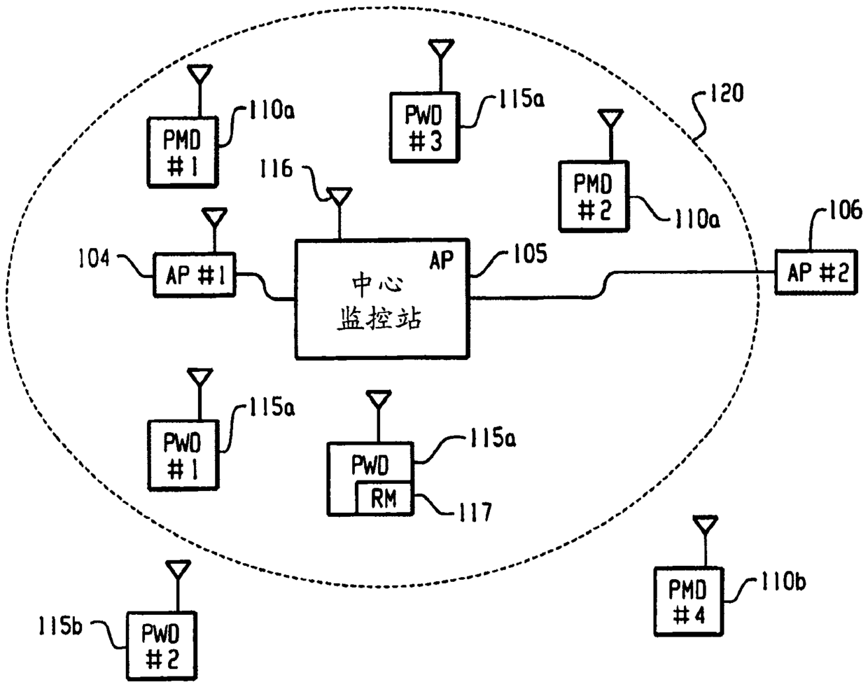
用于无线医疗监控的方法和系统以及患者监控装置
授权日:
2016-11-30
公开(公告)号:
CN103892803B
申请日:
2005-02-01
公开(公告)日:
2016-11-30
当前申请(专利权)人:
皇家飞利浦电子股份有限公司
发明人:
J.维滕伯 | J.巴加 | B.S.罗斯诺夫 | A.G.科谢克
简单同族:
CN103892803A | CN103892803B | CN1957560A | EP1719293A1 | JP2007527166A | JP5069472B2 | US20080154503A1 | WO2005083940A1
简单同族成员数量:
8
简单同族被引用专利总数:
171
诉讼案件数:
0
法律状态/事件:
授权