首页
专利数据库
产业人才
行业动态
产业政策法规
维权援助
个人中心
登录/注册
详情
文本
图像
标题:
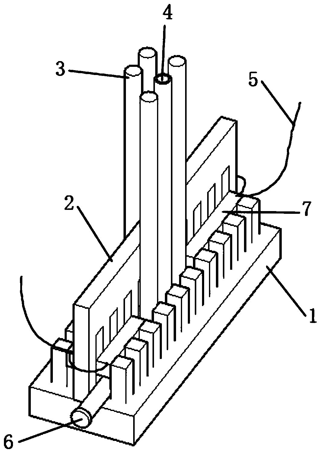
一种用于大鼠脑区给药及神经电信号记录的一体化装置
授权日:
1900-01-01
公开(公告)号:
CN110013346A
申请日:
2019-05-13
公开(公告)日:
2019-07-16
当前申请(专利权)人:
山西医科大学
发明人:
王昭君 | 张升校 | 祁金顺 | 赵济宇 | 刘睿超 | 王坚基 | 裴延斌 | 胡梦明 | 赵辉民 | 闫旭东 | 李思超 | 郭庆博 | 王佳 | 乔军 | 赵蓉 | 周丽霞
简单同族:
CN110013346A
简单同族成员数量:
1
简单同族被引用专利总数:
0
诉讼案件数:
0
法律状态/事件:
实质审查