首页
专利数据库
产业人才
行业动态
产业政策法规
维权援助
个人中心
登录/注册
详情
文本
图像
标题:
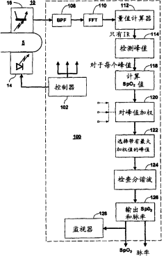
检测生理参数的方法和设备
授权日:
2009-07-01
公开(公告)号:
CN100506143C
申请日:
2001-02-06
公开(公告)日:
2009-07-01
当前申请(专利权)人:
德雷格医疗系统公司
发明人:
Z·埃尔格哈扎维
简单同族:
AT391452T | AU2001236703A1 | CN100506143C | CN1441648A | DE60133533D1 | DE60133533T2 | EP1253851A1 | EP1253851B1 | JP2003521984A | US20020007114A1 | US6574491 | WO2001058345A1
简单同族成员数量:
12
简单同族被引用专利总数:
125
诉讼案件数:
0
法律状态/事件:
授权 | 权利转移