首页
专利数据库
产业人才
行业动态
产业政策法规
维权援助
个人中心
登录/注册
详情
文本
图像
标题:
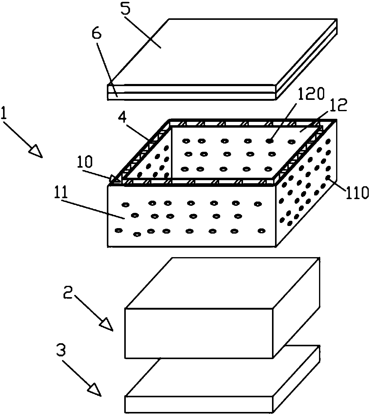
TFT液晶显示模组
授权日:
2018-02-02
公开(公告)号:
CN206960819U
申请日:
2017-07-20
公开(公告)日:
2018-02-02
当前申请(专利权)人:
深圳市鼎视普锐科技有限公司
发明人:
黄懿 | 丁凯军 | 吴智承 | 丁铁兵 | 陈建雄
简单同族:
CN206960819U
简单同族成员数量:
1
简单同族被引用专利总数:
0
诉讼案件数:
0
法律状态/事件:
授权