首页
专利数据库
产业人才
行业动态
产业政策法规
维权援助
个人中心
登录/注册
详情
文本
图像
标题:
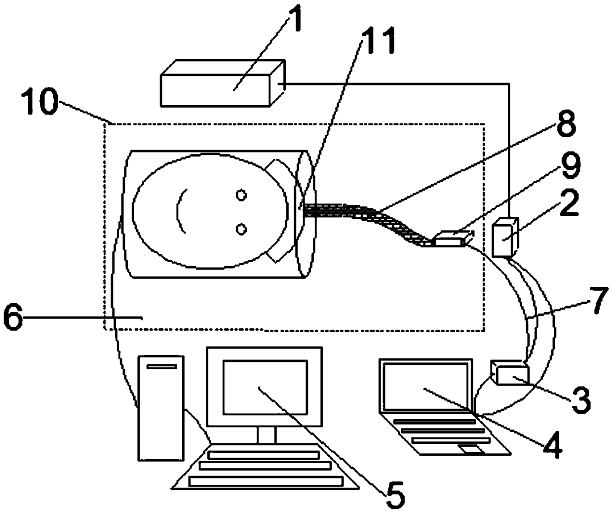
一种核磁共振成像和近红外光谱成像同步采集装置
授权日:
2015-11-18
公开(公告)号:
CN204765569U
申请日:
2015-05-27
公开(公告)日:
2015-11-18
当前申请(专利权)人:
昆明理工大学
发明人:
伏云发 | 张夏冰 | 郭衍龙 | 李松 | 余正涛 | 郭剑毅
简单同族:
CN204765569U
简单同族成员数量:
1
简单同族被引用专利总数:
0
诉讼案件数:
0
法律状态/事件:
未缴年费