首页
专利数据库
产业人才
行业动态
产业政策法规
维权援助
个人中心
登录/注册
详情
文本
图像
标题:
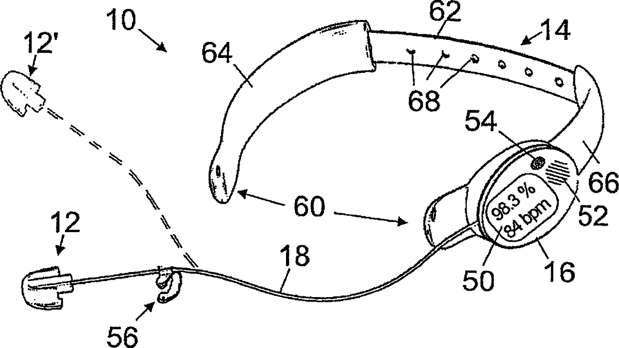
具有设置在颈环上或颈环内的电子部件的生物特征监测器
授权日:
2012-11-07
公开(公告)号:
CN101400296B
申请日:
2007-02-06
公开(公告)日:
2012-11-07
当前申请(专利权)人:
皇家飞利浦电子股份有限公司
发明人:
R·M·莫罗尼三世 | L·尼尔森 | S·M·卡瓦纳 | R·M·阿尔特斯 | M·德科克
简单同族:
CN101400296A | CN101400296B | EP1991114A2 | EP1991114B1 | JP2009528141A | US20100179389A1 | US8308641 | WO2007100959A2 | WO2007100959A3
简单同族成员数量:
9
简单同族被引用专利总数:
169
诉讼案件数:
0
法律状态/事件:
授权