首页
专利数据库
产业人才
行业动态
产业政策法规
维权援助
个人中心
登录/注册
详情
文本
图像
标题:
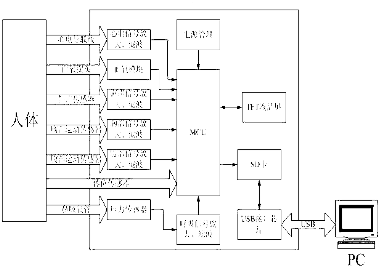
基于TFT液晶屏的睡眠呼吸监测仪
授权日:
2013-01-16
公开(公告)号:
CN202665516U
申请日:
2012-07-30
公开(公告)日:
2013-01-16
当前申请(专利权)人:
河南华南医电科技有限公司
发明人:
夏振宏 | 梁雨露 | 杨峰
简单同族:
CN202665516U
简单同族成员数量:
1
简单同族被引用专利总数:
0
诉讼案件数:
0
法律状态/事件:
授权