首页
专利数据库
产业人才
行业动态
产业政策法规
维权援助
个人中心
登录/注册
详情
文本
图像
标题:
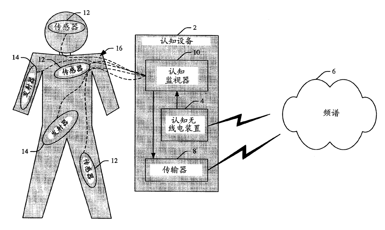
无线医学监视设备
授权日:
1900-01-01
公开(公告)号:
CN102525424A
申请日:
2006-04-28
公开(公告)日:
2012-07-04
当前申请(专利权)人:
皇家飞利浦电子股份有限公司
发明人:
Y.阿尔萨法迪 | W.S.I.阿利
简单同族:
CN101170943A | CN102525424A | CN102525424B | EP1881784A1 | EP1881784B1 | JP2008543127A | JP2014208044A | JP5571307B2 | JP5823565B2 | US20080194925A1 | US8979756 | WO2006120600A1
简单同族成员数量:
12
简单同族被引用专利总数:
131
诉讼案件数:
0
法律状态/事件:
授权