首页
专利数据库
产业人才
行业动态
产业政策法规
维权援助
个人中心
登录/注册
详情
文本
图像
标题:
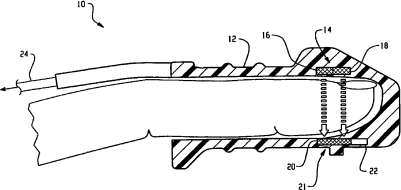
集成脉搏血氧饱和度传感器
授权日:
1900-01-01
公开(公告)号:
CN101080192A
申请日:
2005-12-05
公开(公告)日:
2007-11-28
当前申请(专利权)人:
皇家飞利浦电子股份有限公司
发明人:
O・祖赫 | J・劳特 | R・平特 | J・穆尔施特夫
简单同族:
AT535184T | CN101080192A | CN101080192B | EP1830695A2 | EP1830695B1 | US20090240125A1 | US8315682 | WO2006064399A2 | WO2006064399A3
简单同族成员数量:
9
简单同族被引用专利总数:
125
诉讼案件数:
0
法律状态/事件:
未缴年费