首页
专利数据库
产业人才
行业动态
产业政策法规
维权援助
个人中心
登录/注册
详情
文本
图像
标题:
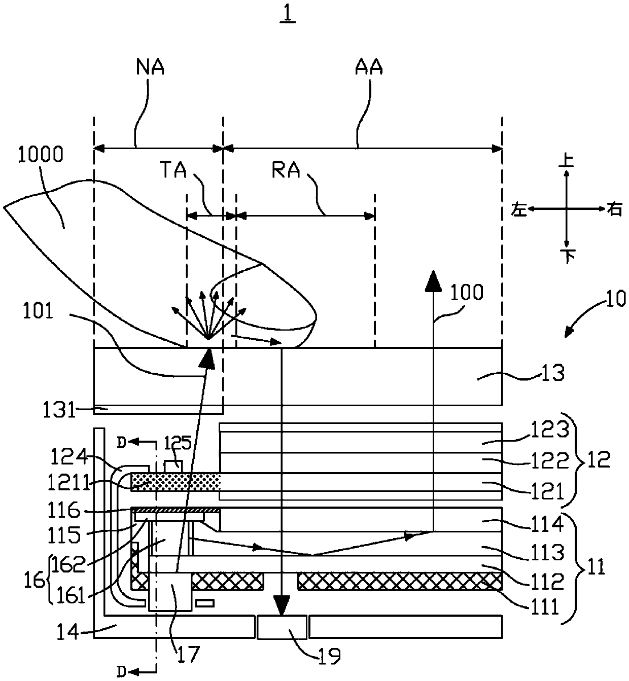
屏下检测系统、液晶显示装置和背光模组
授权日:
2020-04-24
公开(公告)号:
CN210401950U
申请日:
2019-07-20
公开(公告)日:
2020-04-24
当前申请(专利权)人:
深圳阜时科技有限公司
发明人:
朱文龙 | 周扬
简单同族:
CN210401950U
简单同族成员数量:
1
简单同族被引用专利总数:
0
诉讼案件数:
0
法律状态/事件:
授权