首页
专利数据库
产业人才
行业动态
产业政策法规
维权援助
个人中心
登录/注册
详情
文本
图像
标题:
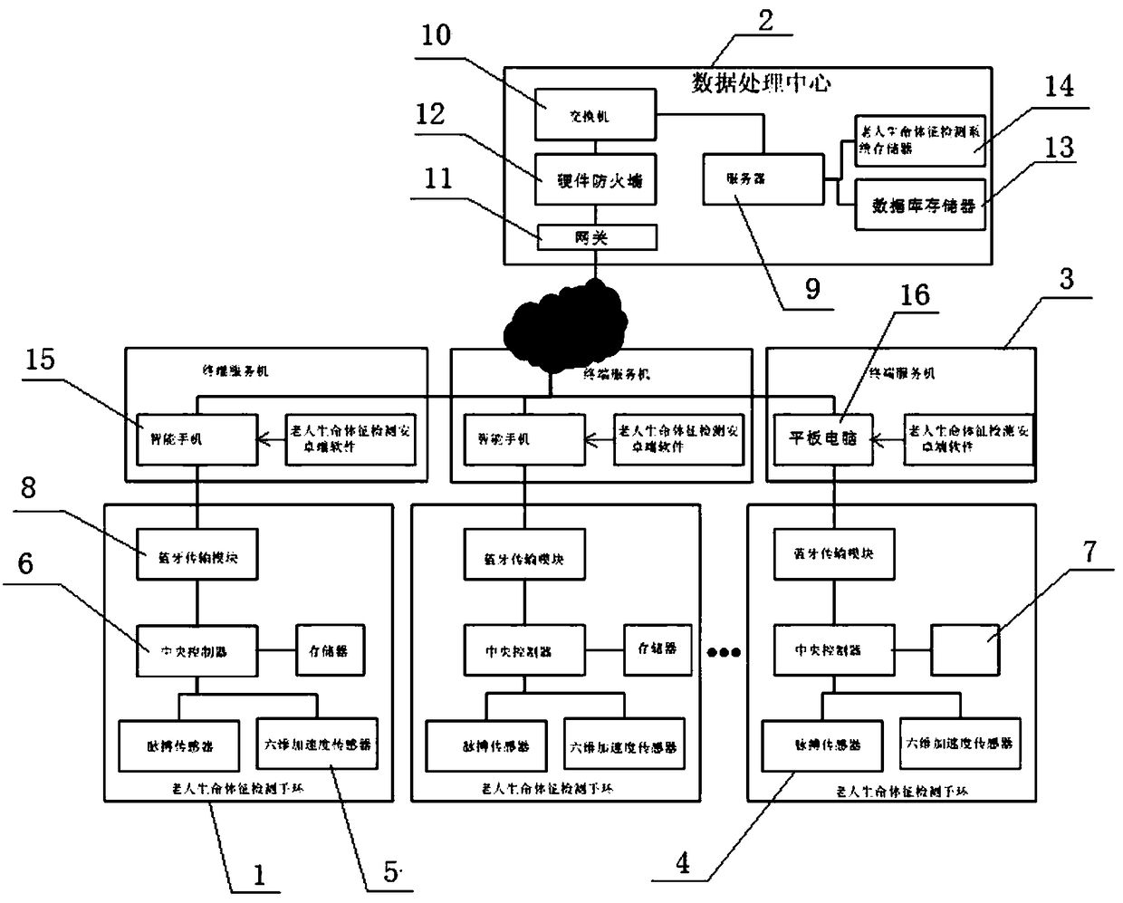
老人动态脉搏连续检测系统及方法
授权日:
1900-01-01
公开(公告)号:
CN107669248A
申请日:
2017-09-29
公开(公告)日:
2018-02-09
当前申请(专利权)人:
长春市万易科技有限公司
发明人:
王春才 | 贺玉珍 | 李英韬 | 孙媛媛 | 曲晓威 | 杨玉东
简单同族:
CN107669248A
简单同族成员数量:
1
简单同族被引用专利总数:
0
诉讼案件数:
0
法律状态/事件:
实质审查